
BMW: Ανακοίνωσε σύστημα ραντάρ για μοτοσυκλέτες
Τετάρτη, 1 Ιουλίου 2020
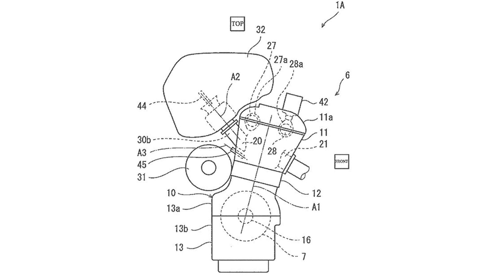
Στο παιχνίδι για το «ενεργό» cruise control και την χρήση ραντάρ στις μοτοσυκλέτες μπαίνει δυναμικά και η BMW. Δείτε περισσότερα. ...

Στο παιχνίδι για το «ενεργό» cruise control και την χρήση ραντάρ στις μοτοσυκλέτες μπαίνει δυναμικά και η BMW. Δείτε περισσότερα. ...

Και δίχρονο, και…κομπρέσορα, και υβριδικό! Πόση τεχνολογία αντέχετε; Δείτε τι καταχώρησε η Kawasaki σχετικά με νέα τεχνολογία κινητήρων… ...

Αποκαλύφθηκε η μορφή του νέου τρίτροχου οχήματος της Yamaha, σύμφωνα με βρετανικά δημοσιεύματα. Τι ετοιμάζει η εταιρεία; ...

Τα χρώματα της φετινής GSX-RR αποκτά η μικρή Suzuki GSX-R 125, σε μια ακόμα ειδική έκδοση για τα 100 χρόνια της εταιρείας. Δείτε περισσότερα. ...

Μία νέα Limited Edition της best seller της μοτοσυκλέτας ετοίμασε η Yamaha, που θα διατεθεί σε περιορισμένο αριθμό κομματιών. Δείτε περισσότερα. ...

Πώς να μεταμορφώσεις το sport scooter της Yamaha σε κάτι τελείως διαφορετικό και ακόμα πιο μοναδικό; Δείτε την δουλειά που έκαναν δύο Πολωνοί «τρελοί»...

Τον λόγο για τον οποίο η Suzuki δεν απασχολεί την επικαιρότητα με ηλεκτρικές μοτοσυκλέτες, αποκάλυψε άνθρωπος-κλειδί για την εταιρεία. Δείτε περισσότε...

Ελαφρά ανανέωση για το μοντέλο 125 κυβικών της Keeway για το 2020 – Δείτε τι αλλάζει στο RKF 125. ...

Την δυνατότητα να… γνωρίζουν τον δρόμο που υπάρχει μπροστά τους ίσως να αποκτήσουν οι μελλοντικές Kawasaki, σύμφωνα με πηγές του εξωτερικού. Δεί...

Το νέο τρίτροχο scooter της Yamaha είναι εδώ και ετοιμάζεται να αλλάξει την αστική σας καθημερινότητα. Δείτε πόσο κάνει και όλες τις πληροφορίες για α...

Τις ανανεωμένες εκδόσεις των BN125 και TNT125 παρουσίασε η Benelli – Δείτε τι αλλάζει στα μοντέλα. ...

Πως θα θέλατε να είναι μια μικρού κυβισμού, «εισαγωγική» MV Agusta; Δείτε αυτή την άποψη που έρχεται ως σχεδιαστική άσκηση… ...

Φοιτητές του πανεπιστημίου του Τόκιο πιστεύουν ότι η μετακίνηση μπορεί να είναι «φορητή» και «φουσκωτή»! Εσείς τι λέτε; Δείτε αυτό το concept… ...

Μια έκδοση προς τιμήν της αγωνιστικής της ιστορίας, ετοίμασε η Suzuki για την GSX-S 750. Δείτε περισσότερα. ...

Με σαφείς αναφορές στην δεκαετία του 1980 και το θρυλικό XT600Z, η Yamaha παρουσίασε την νέα Tenere 700 Rally Edition. Δείτε περισσότερα. ...

Σχεδιαστής παρουσίασαν την άποψη τους, για το πώς θα μπορούσε να είναι μια ηλεκτροκίνητη μοτοσυκλέτα, από την θρυλική βρετανική μάρκα. Πως σας φαίνετ...

Μια νέα εκδοχή της Scrambler Ducati 1100, αποτέλεσμα της συνεργασίας μεταξύ της εταιρείας και της λέσχης Scuderia Club Italia, που θα γίνει διαθέσιμη ...

Ριζική ανανέωση αναμένεται για το motocross μοντέλο της Honda, όπως όλα δείχνουν για το 2021. Δείτε περισσότερα… ...

Στην τεράστια αγορά των scooters ετοιμάζεται να εισέλθει η Zontes, «μαγειρεύοντας» ένα νέο 300άρι μοντέλο που πιθανόν είναι και το ισχυρότερο της κατη...

Το TRK 502 αποκτά ένα πιο «ανήσυχο» αδερφάκι, το οποίο υπόσχεται να σας πάει πιο μακριά από εκεί που τελειώνει η άσφαλτος, χάρη στον πιο περιπετειώδη ...
mototriti.gr | Ταυτότητα
Επωνυμία Επιχείρησης: AUTO ΤΡΙΤΗ ΑΕ
Έδρα - Γραφεία: Λεωφόρος Αμαρουσίου 14 - Νέο Ηράκλειο, Τ.Κ. 141 22
Νομική Μορφή: ΕΚΔΟΤΙΚΗ ΕΤΑΙΡΕΙΑ
Α.Φ.Μ.: 998384177
Δ.Ο.Υ.: ΚΕΦΟΔΕ
Στοιχεία Επικοινωνίας:
E-mail: info@mototriti.gr
Τηλέφωνο: 211 1085500
Ιστοσελίδα: www.mototriti.gr
Διοικητικά Στελέχη
Ιδιοκτήτες & Κύριοι Μέτοχοι: Δανάη Τριανταφύλλη – Δάφνη Τριανταφύλλη
Νόμιμος εκπρόσωπος - Διευθυντής: Νίκος Καρανάσιος
Διευθυντής σύνταξης: Παναγιώτης Σιώπης
Διαχειριστής ονόματος τομέα: ΑUTO ΤΡΙΤΗ Α.Ε.