LIVE: κίνηση στους δρόμους
Εξουσιοδοτημένοι αντιπρόσωποι - Συνεργάτες MotoΤρίτη

Harley-Davidson: Μοτοσυκλέτα που...ισορροπεί μόνη της!

Διαβάστηκε από 2.304 αναγνώστες (9/6/2020)

Έναν πρωτοποριακό, για τα δεδομένα της τουλάχιστον, μηχανισμό υποβοήθησης αναβάτη φαίνεται πως ετοιμάζει η Harley-Davidson. Δείτε τι.

mototriti Team

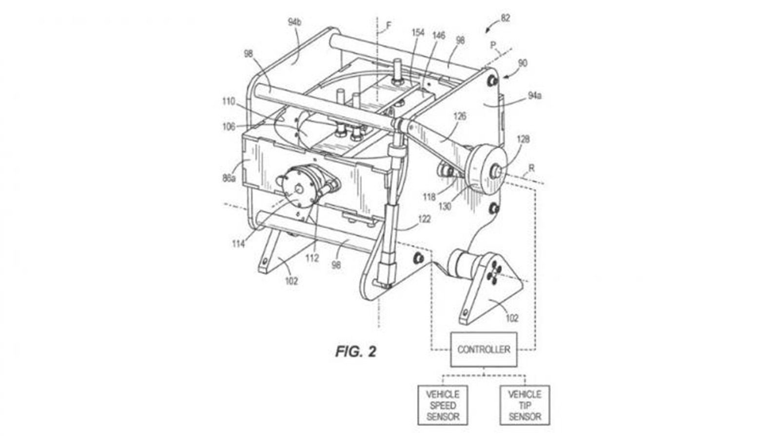
Η τεχνολογία αυτόματης ισορροπίας ή υποβοήθησης αναβάτη στην ισορροπία, φαίνεται ότι ενδιαφέρει ολοένα και περισσότερους κατασκευαστές. Η Honda υπέδειξε ένα νέο concept μοντέλο, που έμενε όρθιο χωρίς καμία παρέμβαση αλλά τις τελευταίες ώρες, είδαμε σημαντικά νέα και από τους δύο μεγάλους, Αμερικανούς κατασκευαστές. Μετά λοιπόν από την Indian και τις πατέντες της για τρίτροχη μοτοσυκλέτα, έρχεται και η Harley, με σύστημα αυτόματης εξισσορόπησης.
 
Βρετανοί δημοσιογράφοι ανακάλυψαν και έφεραν στο φως της δημοσιότητας, πατέντες για την χρήση ενός νέου συστήματος γυροσκοπίου, από την Harley-Davidson. Το σύστημα θα τοποθετείται στο top box των μοτοσυκλετών της και θα αποτελείται από ένα μηχανικό γυροσκόπιο, που θα περιστρέφεται με ταχύτητα της τάξης των 20.000 στροφών ανά λεπτό. Ο ρότορας του γυροσκοπίου, θα συνδέεται με βάση που θα έχει δύο «άξονες» ή βαθμούς ελευθερίας, όπως αλλιώς λέγονται και θα ελέγχεται από ειδική ηλεκτρονική μονάδα.


 
Η περιστροφή του ρότορα θα ξεκινάει στις χαμηλότερες ταχύτητες, όταν και η ισορροπία της μοτοσυκλέτας παύει να επαφίεται στην κίνηση της. Κατόπιν, μέσω των εντολών από την μονάδα ελέγχου, το γυροσκόπιο θα κινείται έτσι ώστε να ασκεί μια δύναμη στην μοτοσυκλέτα, αντίθετη από αυτή της βαρύτητας, κρατώντας την όρθια.
 
Αξίζει να σημειώσουμε εδώ, ότι το σύστημα δεν θα κρατά εντελώς αυτόματα την μοτοσυκλέτα στην όρθια θέση, αλλά θα ασκεί μια δύναμη υποβοήθησης στον αναβάτη, ο οποίος όμως θα είναι ο τελικός «υπεύθυνος». Ωστόσο, όταν μιλάμε για μεγάλες, χαμηλές και βαριές μοτοσυκλέτες όπως οι Harley-Davidson, δεν είναι σπάνιο ένας αναβάτης να δυσκολευτεί να την κρατήσει όρθια σε στάση ή ακόμη και να χάσει στιγμιαία την ισορροπία του, με γνωστές συνέπειες. Το σύστημα αποσκοπεί στο να ασκήσει μια επιπλέον δύναμη και να βοηθήσει τον αναβάτη να κρατήσει τον έλεγχο.
 

Προς το παρόν δεν έχει ανακοινωθεί κάτι επίσημα, οπότε τηρούμε στάση αναμονής για το τι θα δούμε στην τελική μορφή.
 

VITALIOTIS
PAPALEXANDRAKIS