
125άρια adventure scooter με τα καλύτερα φρένα
Δευτέρα, 22 Δεκεμβρίου 2025
Ισχυρότερο φρενάρισμα από τα 80χλμ/ω για το Letbe Aurora 125 στα 31 μέτρα.
Χαμηλότερη κατανάλωση για το Aprilia SR GT με 2,4l/100χλμ....

Ισχυρότερο φρενάρισμα από τα 80χλμ/ω για το Letbe Aurora 125 στα 31 μέτρα.
Χαμηλότερη κατανάλωση για το Aprilia SR GT με 2,4l/100χλμ....
Μοιράζονται το ίδιο πλαίσιο - διαστάσεις και οι δύο εκδόσεις.
EFUN DEER 48V 3000W: Αυτονομία έως 150χλμ και εγγύηση 7 ετών....

Με 17αρη τροχό και off-road στήσιμο διαπρέπει σε άσφαλτο και χώμα
Κατανάλωση scooter και ρεζερβουάρ μοτοσυκλέτας για αμέτρητη αυτονομία...

Κράνος, μπουφάν, γάντια – πρέπει να γίνουν όλα υποχρεωτικά;
Λιγότεροι τραυματισμοί, λιγότερο κόστος υγείας....

2,5 εκατ. ευρώ ημερησίως η απώλεια από τα διόδια.
Μπλόκα σε κεντρικά σημεία και νέα πλάνα για τις γιορτές....

Συμβατική: αποτελείται από ένα κομμάτι ατσαλιού - Πλευστή: συνδυάζει ατσάλι και αλουμίνιο
Η πλευστή προσφέρει σταθερή απόδοση σε υψηλές θερμοκρασ...

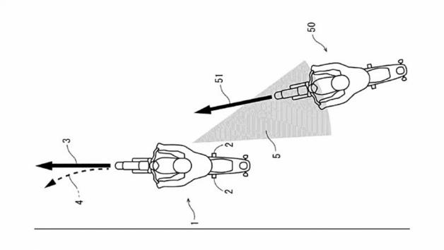
Πατέντα με «βλέμμα» στα τυφλά σημεία και εντολές στο τιμόνι.
Σταδιακή παρέμβαση στο σύστημα και σεβασμός στον αναβάτη.
Όλα αυτά στο εργαστήρ...

Νυχτερινός έλεγχος με ραντάρ σε κεντρικό οδικό άξονα.
Υπέρβαση άνω των 50 χλμ/ώρα: Τι προβλέπει ο νέος ΚΟΚ....

Ένας τίτλος MotoGP που «κλείδωσε» στην ιστορία της Ducati.
Το «κόκκινο όνειρο» επιστρέφει στο Borgo Panigale....

Πάνω από 1000 παραβάσεις - Τα πρώτα στοιχεία δείχνουν το μέγεθος του προβλήματος.
Τα 8 σημεία υψηλής επικινδυνότητας που μπήκαν στο μικροσκόπιο....

To αδιάβροχο Street της Anorak είναι εξαιρετικά ανθεκτικό, ελαστικό και απόλυτα αδιάβροχο σακάκι.
...

Ένα ηλεκτρικό σκούτερ που διπλώνει σαν βαλίτσα.
Φτάνει το 1 μέτρο και 20 εκατοστά με τροχό 10 ιντσών εμπρός....
Τρικύλινδρος κινητήρας 798 κ.εκ. με 113 ίππους και 8,5 kgm ροπής
Φρένα με δύο δίσκους 310 mm εμπρός και εξαιρετική αίσθηση στη μανέτα...

Δικύλινδρος κινητήρας με 95 ίππους σε συνεργασία με τη BMW.
Τροχός 21 ιντσών εμπρός , φρένα Brembo και stabilizer στο τιμόνι....

Δοκιμές στο Sepang με βλέμμα στο 2027 και παράλληλη εξέλιξη του στο 2026.
Νέος κινητήρας 850 κ.εκ. και υποχρεωτική χρήση 100% μη ορυκτών καυσίμων...

Οι συνολικές ταξινομήσεις στις 1.126 και η εικόνα της αγοράς.
Στο Top 10 η απόλυτη κυριαρχία των adventure και Touring....

Τι κερδίζεις όταν πληρώνεις το μισό για κράνος ή μπουφάν;
Πιστοποιήσεις ασφαλείας ή απλά «σήματα» για το μάτι;...

GT θέση οδήγησης , TFT οθόνη και χώρος για full-face κράνος στη σέλα
Κινητήρας 125cc με μεταβλητό χρονισμό βαλβίδων VVA...

Επιχειρησιακή δράση με φόντο την εορταστική περίοδο.
Δεκάδες έλεγχοι και συλλήψεις σε περιοχές έντονης νυχτερινής ζωής....

Τiger Sport 660: Κεντρική βαλίτσα και χούφτες αξίας 750 ευρώ.
Trident 660: Προστατευτικά πλαισίου , χειρολαβές και φλάς αξίας 965 ευρώ....
mototriti.gr | Ταυτότητα
Επωνυμία Επιχείρησης: AUTO ΤΡΙΤΗ ΑΕ
Έδρα - Γραφεία: Λεωφόρος Αμαρουσίου 14 - Νέο Ηράκλειο, Τ.Κ. 141 22
Νομική Μορφή: ΕΚΔΟΤΙΚΗ ΕΤΑΙΡΕΙΑ
Α.Φ.Μ.: 998384177
Δ.Ο.Υ.: ΚΕΦΟΔΕ
Στοιχεία Επικοινωνίας:
E-mail: info@mototriti.gr
Τηλέφωνο: 211 1085500
Ιστοσελίδα: www.mototriti.gr
Διοικητικά Στελέχη
Ιδιοκτήτες & Κύριοι Μέτοχοι: Δανάη Τριανταφύλλη – Δάφνη Τριανταφύλλη
Νόμιμος εκπρόσωπος - Διευθυντής: Νίκος Καρανάσιος
Διευθυντής σύνταξης: Παναγιώτης Σιώπης
Διαχειριστής ονόματος τομέα: ΑUTO ΤΡΙΤΗ Α.Ε.