
BMW S1000R: Έρχεται ολοκαίνουργιο το 2021
Τρίτη, 7 Ιουλίου 2020
Ήρθε η στιγμή της ανανέωσης και για το τρίτο μοντέλο της σειράς S της BMW, που έμεινε… τελευταίο; Δείτε τι λένε πληροφορίες του εξωτερικού…...

Ήρθε η στιγμή της ανανέωσης και για το τρίτο μοντέλο της σειράς S της BMW, που έμεινε… τελευταίο; Δείτε τι λένε πληροφορίες του εξωτερικού…...

Ένας «αετός» με άκρατη Sport διάθεση και μοντέρνα εικόνα, θα μπορούσε να είναι το επόμενο μοντέλο της σειράς V85 της Moto Guzzi. Πως σας φαίνεται κάτι...

Αποκαλύφθηκε το νέο μοντέλο της σειράς CBR, το οποίο επιστρέφει στον κυβισμό των 400 κυβικών. Δείτε περισσότερα… ...

Κλείνει βροντερά την πόρτα στο παρελθόν η Ducati; Δείτε τι αποκαλύπτουν κατασκοπευτικές εικόνες, που δείχνουν ένα μοντέλο που συνδέεται με ένα ολοκαίν...

Παρουσιάστηκε η ηλεκτρική μοτοσυκλέτα της Voxan, με την οποία η εταιρεία φιλοδοξεί να σπάσει το ρεκόρ ταχύτητας, με ηλεκτροκίνητο δίκυκλο. Δείτε περισ...

Εμφανίστηκαν και επί χάρτου τα σχέδια της Kawasaki που προβλέπουν την τοποθέτηση ραντάρ στην sport touring H2 SX. Δείτε περισσότερα… ...

Συνεχίζουν οι δοκιμές της Ducati Multistrada V4, η οποία ετοιμάζεται για το μεγάλο ντεμπούτο στο 2021, με τον φακό να την τσακώνει μια φορά ακόμη στο ...

Κάνε δική σου την ολοκαίνουργια Tiger 900 στην χαμηλότερη τιμή της γκάμας της και μπες στην περιπέτεια εντός και εκτός δρόμου! Διάβασε περισσότεραR...

Επανέρχονται στο προσκήνιο οι φήμες για ριζική ανανέωση του Kawasaki ZX-10R για το επόμενο έτος. Τι περιμένουμε; Θα γίνει; Δείτε περισσότερα… ...

Τον νέο χρωματικό συνδυασμό «White Rosso» ανακοίνωσε η Ducati, για την supersport μοτοσυκλέτα της, Panigale V2. Δείτε περισσότερα. ...

Σχέδια για ένα ηλεκτροκίνητο δίκυκλο από την Suzuki είδαν το φως της δημοσιότητας πριν λίγες ώρες. Νέα ηλεκτρική μοτοσυκλέτα, φουτουριστικό e-ποδήλατ...

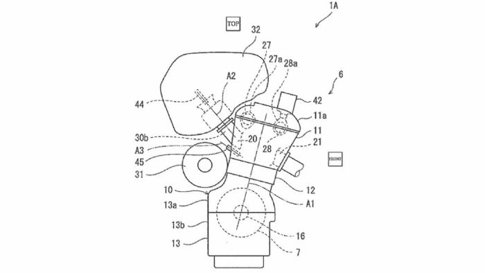
Στο παιχνίδι για το «ενεργό» cruise control και την χρήση ραντάρ στις μοτοσυκλέτες μπαίνει δυναμικά και η BMW. Δείτε περισσότερα. ...

Και δίχρονο, και…κομπρέσορα, και υβριδικό! Πόση τεχνολογία αντέχετε; Δείτε τι καταχώρησε η Kawasaki σχετικά με νέα τεχνολογία κινητήρων… ...

Αποκαλύφθηκε η μορφή του νέου τρίτροχου οχήματος της Yamaha, σύμφωνα με βρετανικά δημοσιεύματα. Τι ετοιμάζει η εταιρεία; ...

Τα χρώματα της φετινής GSX-RR αποκτά η μικρή Suzuki GSX-R 125, σε μια ακόμα ειδική έκδοση για τα 100 χρόνια της εταιρείας. Δείτε περισσότερα. ...

Μία νέα Limited Edition της best seller της μοτοσυκλέτας ετοίμασε η Yamaha, που θα διατεθεί σε περιορισμένο αριθμό κομματιών. Δείτε περισσότερα. ...

Πώς να μεταμορφώσεις το sport scooter της Yamaha σε κάτι τελείως διαφορετικό και ακόμα πιο μοναδικό; Δείτε την δουλειά που έκαναν δύο Πολωνοί «τρελοί»...

Τον λόγο για τον οποίο η Suzuki δεν απασχολεί την επικαιρότητα με ηλεκτρικές μοτοσυκλέτες, αποκάλυψε άνθρωπος-κλειδί για την εταιρεία. Δείτε περισσότε...

Ελαφρά ανανέωση για το μοντέλο 125 κυβικών της Keeway για το 2020 – Δείτε τι αλλάζει στο RKF 125. ...

Την δυνατότητα να… γνωρίζουν τον δρόμο που υπάρχει μπροστά τους ίσως να αποκτήσουν οι μελλοντικές Kawasaki, σύμφωνα με πηγές του εξωτερικού. Δεί...
mototriti.gr | Ταυτότητα
Επωνυμία Επιχείρησης: AUTO ΤΡΙΤΗ ΑΕ
Έδρα - Γραφεία: Λεωφόρος Αμαρουσίου 14 - Νέο Ηράκλειο, Τ.Κ. 141 22
Νομική Μορφή: ΕΚΔΟΤΙΚΗ ΕΤΑΙΡΕΙΑ
Α.Φ.Μ.: 998384177
Δ.Ο.Υ.: ΚΕΦΟΔΕ
Στοιχεία Επικοινωνίας:
E-mail: info@mototriti.gr
Τηλέφωνο: 211 1085500
Ιστοσελίδα: www.mototriti.gr
Διοικητικά Στελέχη
Ιδιοκτήτες & Κύριοι Μέτοχοι: Δανάη Τριανταφύλλη – Δάφνη Τριανταφύλλη
Νόμιμος εκπρόσωπος - Διευθυντής: Νίκος Καρανάσιος
Διευθυντής σύνταξης: Παναγιώτης Σιώπης
Διαχειριστής ονόματος τομέα: ΑUTO ΤΡΙΤΗ Α.Ε.