
Honda NC750X: Με 58 ίππους, χώρο για κράνος και τιμή 9.000 ευρώ
Τετάρτη, 1 Απριλίου 2026
23 λίτρα αποθηκευτικού χώρου: Η μοναδική μοτοσυκλέτα που χωράει full face κράνος.
Κινητήρας με 58 ίππους, 7,0 kgm ροπής και κατανάλωση 4 λτ/100χλ...
Νέα, ειδήσεις & όλα τα καινούργια μοντέλα Μοτοσυκλέτας, Scooter Και παπιά. Δοκιμές & συγκριτικά test. Τιμές για όλα τα μοντέλα της αγοράς. Τα πάντα για καινούρια μοτοσυκλέτα – Scooter και για προιόντα – υπηρεσίες μοτοσυκλέτας.

23 λίτρα αποθηκευτικού χώρου: Η μοναδική μοτοσυκλέτα που χωράει full face κράνος.
Κινητήρας με 58 ίππους, 7,0 kgm ροπής και κατανάλωση 4 λτ/100χλ...

Νέος δικύλινδρος 48 ίππων και αυτόματο σύστημα συμπλέκτη.
Αναρτήσεις KYB, πλαίσιο με τον κινητήρα ως φέρον στοιχείο....

Το ΝΜΑΧ 125 με το καλύτερο φρενάρισμα με 80-0 σε 28,6 μέτρα.
Την χαμηλότερη κατανάλωση το Forza 125 με 2,1 λίτρα ανά 100χλμ....

Η νέα γενιά του Honda PCX 125 συνεχίζει να αποτελεί μία από τις πιο ολοκληρωμένες προτάσεις στην κατηγορία των scooter πόλης, όμως πλέον δίνεται στον ...

Πλήρης εξοπλισμός από το εργοστάσιο στα 7.490 ευρώ.
Κατανάλωση 4,7 λίτρα και αυτονομία 425 χιλιομέτρων για ταξίδι....

Μπαλακλάβα με αντιανεμικό ύφασμα για προστασία από τον αέρα.
Λαιμουδιέρα με αδιαβροχοποιητική μεμβράνη....

Νέο σύστημα καμερών στις λεωφορειολωρίδες για αυτόματες κλήσεις.
Πώς λειτουργεί το σύστημα και τι καταγράφει - Αναλυτικά....

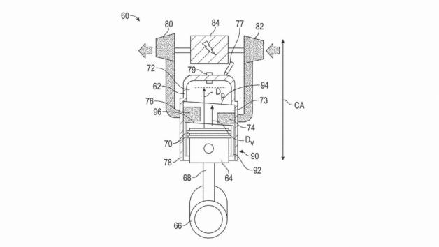
Στο άρθρο που ακολουθεί, αναλύουμε τι είναι ο χρονισμός κινητήρα, ποιες είναι οι διαφορές μεταξύ 180°, 360° και 270° στρόφαλου, και γιατί ο 270° δικύλ...

Ψεύτικα μηνύματα εμφανίζουν τους πολίτες ως δήθεν δικαιούχους.
Η ιστοσελίδα vouchers.help/gov δεν έχει καμία σχέση με το κράτος....

Χωρίς απαίτηση διπλώματος με τελική ταχύτητα 25χλμ/ώρα και τιμή στα 890 ευρώ.
Αυτονομία έως 65χλμ και φόρτιση σε απλή οικιακή πρίζα....

Πώς το Milwaukee "εισβάλλει" στα λημέρια των Adventure με όπλα την τεχνολογία και την άκρως ανταγωνιστική τιμή....

Κινητήρας με 40 ίππους και χαμηλή κατανάλωση.
Εμφάνιση scrambler-retro που τραβάει τα βλέμματα....

Στρογγυλή σχεδίαση, LED φώτα και premium ποιότητα κατασκευής.
Κινητήρας eSP με 11,4 ίππους και χαμηλή κατανάλωση....

Η νέα Honda NX500 φέρνει ξανά τη λογική του New X-over.
Δικύλινδρος κινητήρας με 47,6 ίππους και κατανάλωση 4,5 λτ./100 χλμ....

Carbon-ceramic δίσκοι Hyction: Τεχνολογία hypercar σε superbike.
Δαγκάνες Brembo GP4-HY: Περισσότερη δύναμη με λιγότερη πίεση....

Νέα Εποχή στη Σειρά 400 της Triumph.
Κινητήρας TR-Series: 41 ίπποι, ride by wire και 3,82 kgm ροπής....

Κέλυφος κατασκευασμένο από θερμοπλαστικό.
Αφαιρούμενη και πλενόμενη εσωτερική επένδυση....

Ξέχνα τους συμβιβασμούς ανάμεσα στο κόστος και τον εξοπλισμό: Η QJMOTOR SRT 900SX έρχεται με «all-inclusive» πακέτο και επιδόσεις που κοιτούν στα μάτι...

Στην Ελλάδα αποκτά καθεστώς ιστορικού οχήματος μόνο όταν ξεπεράσει τα 30 έτη ηλικίας.
Τέλη κυκλοφορίας: Μειωμένα αλλά όχι μηδενικά....

Μαζική επιχείρηση της Τροχαίας για τον νέο ΚΟΚ στην Αττική.
3.849 παραβάσεις και 12 συλλήψεις οδηγών....
mototriti.gr | Ταυτότητα
Επωνυμία Επιχείρησης: AUTO ΤΡΙΤΗ ΑΕ
Έδρα - Γραφεία: Λεωφόρος Αμαρουσίου 14 - Νέο Ηράκλειο, Τ.Κ. 141 22
Νομική Μορφή: ΕΚΔΟΤΙΚΗ ΕΤΑΙΡΕΙΑ
Α.Φ.Μ.: 998384177
Δ.Ο.Υ.: ΚΕΦΟΔΕ
Στοιχεία Επικοινωνίας:
E-mail: info@mototriti.gr
Τηλέφωνο: 211 1085500
Ιστοσελίδα: www.mototriti.gr
Διοικητικά Στελέχη
Ιδιοκτήτες & Κύριοι Μέτοχοι: Δανάη Τριανταφύλλη – Δάφνη Τριανταφύλλη
Νόμιμος εκπρόσωπος - Διευθυντής: Νίκος Καρανάσιος
Διευθυντής σύνταξης: Παναγιώτης Σιώπης
Διαχειριστής ονόματος τομέα: ΑUTO ΤΡΙΤΗ Α.Ε.