
Ducati: Θα είναι έτσι το V4 Streetfighter;
Δευτέρα, 25 Φεβρουαρίου 2019
Οι φήμες οργιάζουν σχετικά με μια νέα υπέρ-naked μοτοσυκλέτα από την Ducati, που θα φέρει φυσικά τον νέο V4 κινητήρα. Θα μπορούσε να είναι έτσι; ...

Οι φήμες οργιάζουν σχετικά με μια νέα υπέρ-naked μοτοσυκλέτα από την Ducati, που θα φέρει φυσικά τον νέο V4 κινητήρα. Θα μπορούσε να είναι έτσι; ...

Αδύνατο, αλλά εξαιρετικά δυναμικό, το μοναδικό δημιούργημα του Dirk Oehlerking θυμίζει πράγματι… φάντασμα! Απολαύστε… ...

Ένα νέο ειδικό μοντέλο που θυμίζει και τιμά το αρχικό CB650, που παρουσιάστηκε πριν 50 χρόνια. Δείτε περισσότερα…...

Μια πρωτοποριακή τεχνολογία για την νέα Livewire παρουσιάζει η Harley-Davidson, σε συνεργασία με τον γίγαντα της πληροφορικής IBM. Δείτε περισσότερα...

125 κυβικά και GT Scooters πάνε μαζί; Ρισκάροντας κάτι που οι περισσότερες εταιρείες αποφεύγουν, η KYMCO περνά από «downsizing» το X-Town, διατηρώντας...

Μια επιλογή που δεν κάνουν πολλοί customizers, που όμως εδώ εξελίχθηκε μια χαρά! Δείτε τι αλλαγές έχει αυτή η BMW…...

Σοβαρεύει την παρουσία της στα LMW οχήματα η Yamaha, καθώς όπως όλα δείχνουν, ένα ακόμα όχημα έρχεται! Περί τίνος πρόκειται; ...

Πλήρης μεταμόρφωση του μεγάλου τρικύλινδρου γυμνού της Triumph, από έναν Βρετανό customizer που το πηγαίνει σε άλλο επίπεδο! Δείτε περισσότερα… ...

Μονοκόκ από ανθρακονήματα και το βλέμμα στο μέλλον, από την νέα μοτοσυκλέτα της Ολλανδικής NXT. Δείτε περισσότερα… ...

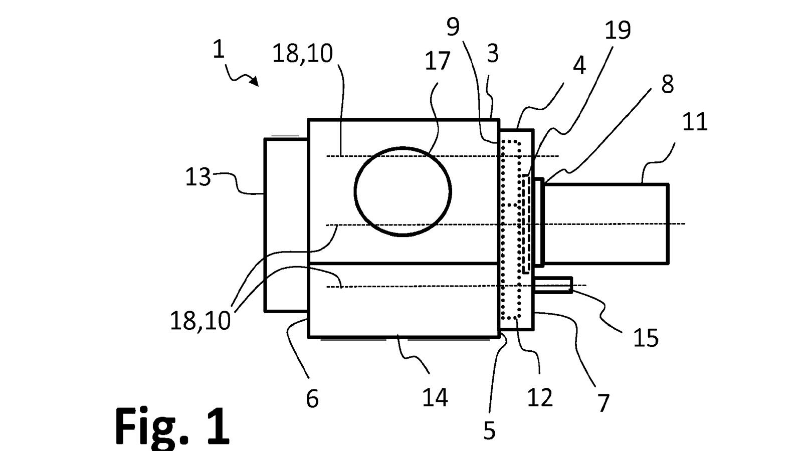
Σε συστήματα αναγνώρισης επικείμενης σύγκρουσης φαίνεται πως δουλεύει η Honda, μέσα από αντίστοιχα σχέδια που κατέθεσε. Δείτε περισσότερα… ...

Απλοϊκά αλλά αποκαλυπτικά σχέδια, φαίνεται να κατοχύρωσε η BMW για νέο σύνολο κινητήρα-μοτέρ. Δείτε περισσότερα… ...

Μια απόλυτα μοντέρνα μοτοσυκλέτα σε κλασικές και αγαπημένες, σπορ γραμμές που την μεταμορφώνουν σε ένα σαφώς πιο «εύπεπτο» σύνολο. Πως σας φαίνεται; ...

Ένα ιδιαίτερα ενδιαφέρον όχημα που μπαίνει στον «χορό» της εναλλακτικής δίκυκλης μετακίνησης, κουβαλώντας ένα βαρύ όνομα. Διαβάστε περισσότερα. ...

Τι μοτοσυκλέτα γουστάρει ένας παλαίμαχος τερματοφύλακας; Ο Keeper της Σεβίλλης συναντήθηκε με έναν customizer και το αποτέλεσμα συναρπάζει. Δείτε̷...

Ούτε… εβδομάδα δεν έχει που ξεκίνησε να παράγεται και το Moto Guzzi V85TT έχει ήδη την πρώτη «custom» εκδοχή του. Δείτε εδώ…...

Τη δυνατότητα να εξασφαλίσουν από τώρα, την επόμενη ηλεκτροκίνητη μοτοσυκλέτα τους, δίνει σε αναβάτες η RMK. Δείτε τι ακριβώς κάνει…...

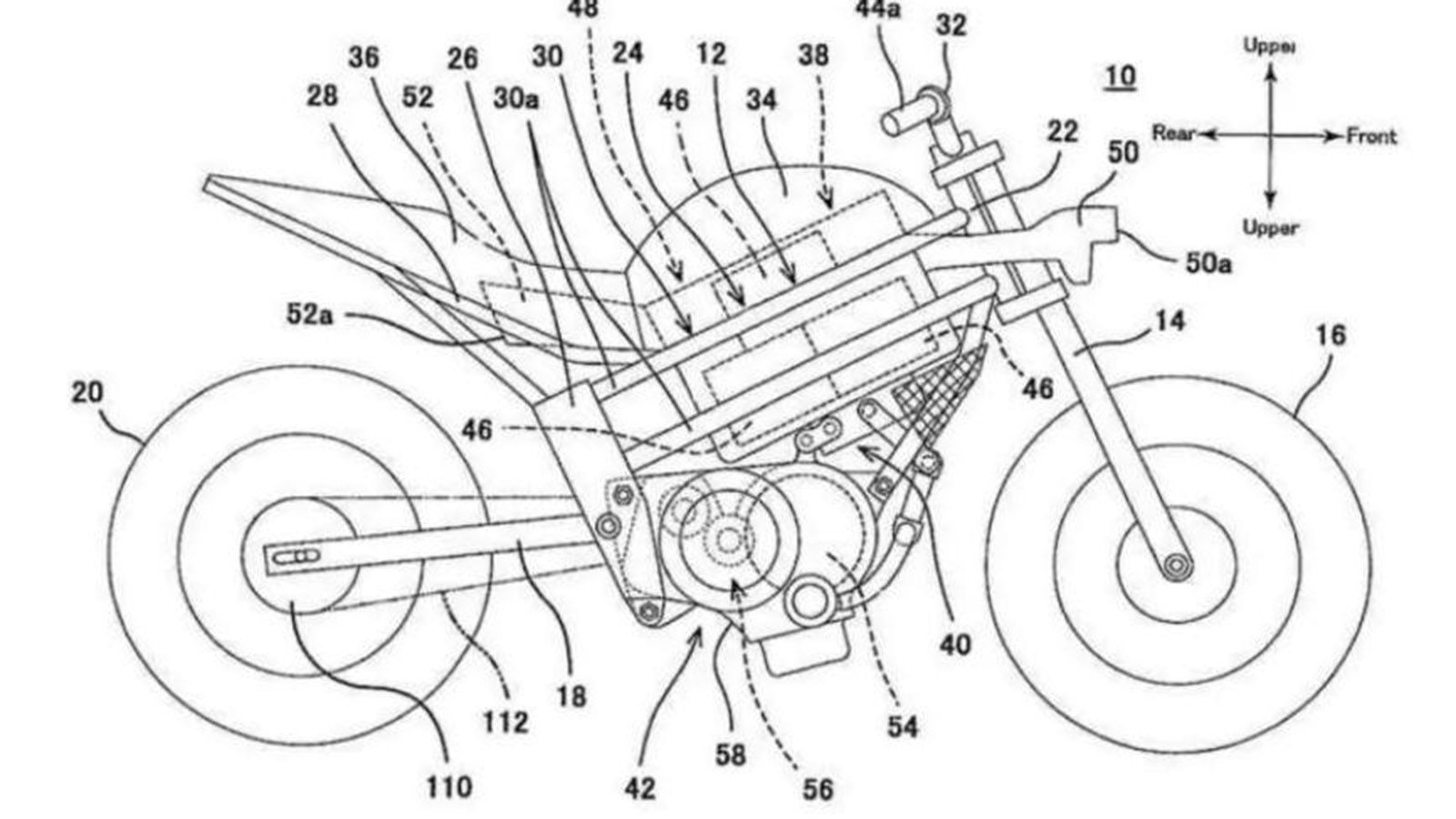
Πατέντες που κατατέθηκαν από την Kawasaki φανερώνουν σχέδια για ηλεκτροκίνητη μοτοσυκλέτα με ψύξη λαδιού και… σασμάν; Δείτε περισσότερα… ...

Μια ματιά στον ηλεκτροκινητήρα της νέας Superbike έδωσε η Lightning, με κατάλληλο φωτογραφικό teaser. Δείτε περισσότερα…...

Μια μετατροπή που πραγματοποιείται όλο και περισσότερο και δεν παύει να εντυπωσιάζει. Θα οδηγούσατε κάτι τέτοιο; ...

Σχέδια από πατέντες δείχνουν ότι η Harley κοιτάει πλέον αλλού για το μέλλον της! Δείτε περισσότερα…...
mototriti.gr | Ταυτότητα
Επωνυμία Επιχείρησης: AUTO ΤΡΙΤΗ ΑΕ
Έδρα - Γραφεία: Λεωφόρος Αμαρουσίου 14 - Νέο Ηράκλειο, Τ.Κ. 141 22
Νομική Μορφή: ΕΚΔΟΤΙΚΗ ΕΤΑΙΡΕΙΑ
Α.Φ.Μ.: 998384177
Δ.Ο.Υ.: ΚΕΦΟΔΕ
Στοιχεία Επικοινωνίας:
E-mail: info@mototriti.gr
Τηλέφωνο: 211 1085500
Ιστοσελίδα: www.mototriti.gr
Διοικητικά Στελέχη
Ιδιοκτήτες & Κύριοι Μέτοχοι: Δανάη Τριανταφύλλη – Δάφνη Τριανταφύλλη
Νόμιμος εκπρόσωπος - Διευθυντής: Νίκος Καρανάσιος
Διευθυντής σύνταξης: Παναγιώτης Σιώπης
Διαχειριστής ονόματος τομέα: ΑUTO ΤΡΙΤΗ Α.Ε.