
Παρουσιάστηκε το νέο Super Cub του 2022
Τρίτη, 22 Ιουνίου 2021
Νέος κινητήρας και επιτέλους θέση συνεπιβάτη! Η σημαντικότερη μοτοσυκλέτα όλων των εποχών ανανεώνεται, στα… 63 της! Μήπως ήρθε τώρα η στιγμή να ...

Νέος κινητήρας και επιτέλους θέση συνεπιβάτη! Η σημαντικότερη μοτοσυκλέτα όλων των εποχών ανανεώνεται, στα… 63 της! Μήπως ήρθε τώρα η στιγμή να ...

33 άλογα με κάτω από 4.000 ευρώ! Η Evomoto κάνει ντεμπούτο στην χώρα μας και έρχεται μεταξύ άλλων, και με το ισχυρότερο scooter 300 κυβικών. Μπορεί το...

Το πιο «καθαρό» scooter; Παρουσιάστηκε νέο πρωτότυπο δικύκλου, που λειτουργεί με υδρογόνο και υπόσχεται τεράστια ευκολία και μηδενικούς ρύπους. Εσείς ...

Πήρε αύξηση κυβισμού πριν καν φτάσει στις αγορές. Το αναμενόμενο Benelli Leoncino 800 φαίνεται πως θα εξοπλιστεί με νέο κινητήρα, ελαφρά μεγαλύτερο. Π...

Στη μανία των Adventure και η Moto Morini! To μεσαίου κυβισμού μοντέλο περιπέτειας ήδη δοκιμάζεται στο δρόμο, όπως αποκαλύπτουν φωτογραφίες. Θα είναι ...

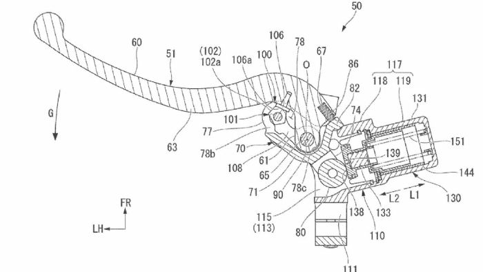
Ασφάλεια… αυτοκινήτου, αλλά με τι αντίτιμο; Η Honda πιστεύει ακόμα στους αερόσακους στα δίκυκλα και σχέδια από πατέντες της το φανερώνουν. Πιστε...

Με το μοτέρ του K5, αλλά και πιο μοντέρνο από ποτέ! Η νέα πρόταση της Suzuki στην κατηγορία των μεγάλων naked ακούει στο όνομα GSX-S 950 και παρουσιάσ...

Ανταγωνιστής του S 1000 XR στα σκαριά; Η Suzuki φαίνεται να δουλεύει σε ένα sport touring μοντέλο βασισμένο στο GSX-S1000. Εσείς τι θα θέλατε να δημιο...

«Σφάζει» τον ανταγωνισμό του στο ταμείο! H μεγαλύτερη μοτοσυκλέτα στην γκάμα της Benelli είναι γεγονός: μπαίνει στην παραγωγή και ίσως έρθει και στην ...

Κάποια πράγματα τελικά δεν αλλάζουν! Σχέδια για την χρήση άξονα μετάδοσης και στα ηλεκτρικά, επεξεργάζεται και καταθέτει η BMW. Θεωρείτε ότι είναι καλ...

Ακόμα πιο καθαρά τα scooters της KYMCO. Η γκάμα των Like ανανεώνεται με στόχο την εναρμόνιση στις προδιαγραφές ρύπων Euro 5. Τι άλλο θα θέλατε να αποκ...

Σε πανελλήνια πρωτιά, το BMW M 1000 RR παρουσιάστηκε στο Ναύπλιο και εμείς ήμασταν εκεί. Μπορεί να αγγίξει την κορυφή της κατηγορίας; ...

Premium scooter σε τιμή που δεν παίζεται. Το Symphony ST200 λαμβάνει μεγάλες αλλαγές για το 2021. Μπορεί να πετύχει την κορυφή των πωλήσεων; ...

Απίστευτος χρωματικός συνδυασμός! Αυτή είναι η νέα Ducati Diavel 1260 S, που υπόσχεται να ξεχωρίσει ακόμα περισσότερο. Θα κυκλοφορούσατε με κάτι τέτο...

Ίσως η ομορφότερη naked μοτοσυκλέτα στον κόσμο. Αυτή είναι η νέα MV Agusta Brutale 1000RR με ανανεώσεις στα σημεία από την εταιρεία. Εσείς τι θα κάνατ...

«Τελειώνει» και ο συμπλέκτης, όπως τον ξέραμε. Σχέδια… ηλεκτρονικοποίησης της αριστερής μανέτας από την Honda είδαν το φως της δημοσιότητας. Πως...

Adventure που δεν μοιάζει με τίποτα άλλο! Αμεσα διαθέσιμη είναι πλέον η Royal Enfield Himalayan Euro5 και ανακοινώθηκε η τιμή της. Πιστεύετε ότι είναι...

Ξεκινάει πολύ κάτω από τα 3.000 ευρώ! Αποκαλύφθηκαν στα διεθνή μέσα, πληροφορίες για το νέο ηλεκτρικό scooter της Piaggio ονόματι One, που είδαμε και ...

Συζήτηση ακόμα και για… τρίτροχο TMAX! Αυτό και όχι μόνο κυκλοφορεί στον διεθνή χώρο τις τελευταίες ώρες, για τα μελλοντικά σχέδια της Yamaha. Π...

To γνωστό για τις αρετές του KYMCO Downtown 350 πλέον αποκτά και traction control, ως μια σημαντική προσθήκη ενεργητικής ασφάλειας για τις καθημερινές...
mototriti.gr | Ταυτότητα
Επωνυμία Επιχείρησης: AUTO ΤΡΙΤΗ ΑΕ
Έδρα - Γραφεία: Λεωφόρος Αμαρουσίου 14 - Νέο Ηράκλειο, Τ.Κ. 141 22
Νομική Μορφή: ΕΚΔΟΤΙΚΗ ΕΤΑΙΡΕΙΑ
Α.Φ.Μ.: 998384177
Δ.Ο.Υ.: ΚΕΦΟΔΕ
Στοιχεία Επικοινωνίας:
E-mail: info@mototriti.gr
Τηλέφωνο: 211 1085500
Ιστοσελίδα: www.mototriti.gr
Διοικητικά Στελέχη
Ιδιοκτήτες & Κύριοι Μέτοχοι: Δανάη Τριανταφύλλη – Δάφνη Τριανταφύλλη
Νόμιμος εκπρόσωπος - Διευθυντής: Νίκος Καρανάσιος
Διευθυντής σύνταξης: Παναγιώτης Σιώπης
Διαχειριστής ονόματος τομέα: ΑUTO ΤΡΙΤΗ Α.Ε.