
Νέα Indian Roadmaster Elite 2019
Τετάρτη, 27 Φεβρουαρίου 2019
Επίσημη παρουσίαση για την περιορισμένης παραγωγής τουριστική μοτοσυκλέτα της Indian ονόματι Roadmaster Elite. Διαβάστε περισσότερα. ...

Επίσημη παρουσίαση για την περιορισμένης παραγωγής τουριστική μοτοσυκλέτα της Indian ονόματι Roadmaster Elite. Διαβάστε περισσότερα. ...

Δεν καταλαγιάζει με τίποτα η παπιο-τρέλα, καθώς δύο ακόμα limited χαρακτήρα εκδόσεις του απόλυτου θρύλου των δικύκλων θα παραχθούν Δείτε περισσότερα....

Λόγω της τεράστιας ζήτησης επανέρχονται, σύμφωνα με πηγές, στην διαθεσιμότητα, γνήσια ανταλλακτικά της θρυλικής τετρακύλινδρης! Δείτε περισσότερα̷...

Μια «παρατυπία» εντοπίστηκε στους καταλόγους BMW που κυκλοφόρησαν στο εξωτερικό, με πολλούς να τη συνδέουν ήδη με νέο μοντέλο! Τι συμβαίνει; ...

Πληροφορίες για νέες εμφανίσεις μοτοσυκλετών μέχρι το καλοκαίρι, σε μεσαίο κυβισμό, από μια νέα συνεργασία, είδαν το φως της δημοσιότητας. Δείτε περισ...

Εμφανίστηκε η νέα ηλεκτροκίνητη naked μοτοσυκλέτα της αμερικανικής Zero, ενώ αποκαλύφθηκαν και τα τεχνικά στοιχεία της – Δείτε περισσότερα ...

Ακόμη πιο πίσω στην ιστορία των αγώνων και από τα flat-track, θέλει να μας πάει ο Rick Geall των Wreckless Motorcycles, με αυτό το δημιούργημα. Πως σα...

Οι φήμες οργιάζουν σχετικά με μια νέα υπέρ-naked μοτοσυκλέτα από την Ducati, που θα φέρει φυσικά τον νέο V4 κινητήρα. Θα μπορούσε να είναι έτσι; ...

Αδύνατο, αλλά εξαιρετικά δυναμικό, το μοναδικό δημιούργημα του Dirk Oehlerking θυμίζει πράγματι… φάντασμα! Απολαύστε… ...

Ένα νέο ειδικό μοντέλο που θυμίζει και τιμά το αρχικό CB650, που παρουσιάστηκε πριν 50 χρόνια. Δείτε περισσότερα…...

Μια πρωτοποριακή τεχνολογία για την νέα Livewire παρουσιάζει η Harley-Davidson, σε συνεργασία με τον γίγαντα της πληροφορικής IBM. Δείτε περισσότερα...

125 κυβικά και GT Scooters πάνε μαζί; Ρισκάροντας κάτι που οι περισσότερες εταιρείες αποφεύγουν, η KYMCO περνά από «downsizing» το X-Town, διατηρώντας...

Μια επιλογή που δεν κάνουν πολλοί customizers, που όμως εδώ εξελίχθηκε μια χαρά! Δείτε τι αλλαγές έχει αυτή η BMW…...

Σοβαρεύει την παρουσία της στα LMW οχήματα η Yamaha, καθώς όπως όλα δείχνουν, ένα ακόμα όχημα έρχεται! Περί τίνος πρόκειται; ...

Πλήρης μεταμόρφωση του μεγάλου τρικύλινδρου γυμνού της Triumph, από έναν Βρετανό customizer που το πηγαίνει σε άλλο επίπεδο! Δείτε περισσότερα… ...

Μονοκόκ από ανθρακονήματα και το βλέμμα στο μέλλον, από την νέα μοτοσυκλέτα της Ολλανδικής NXT. Δείτε περισσότερα… ...

Σε συστήματα αναγνώρισης επικείμενης σύγκρουσης φαίνεται πως δουλεύει η Honda, μέσα από αντίστοιχα σχέδια που κατέθεσε. Δείτε περισσότερα… ...

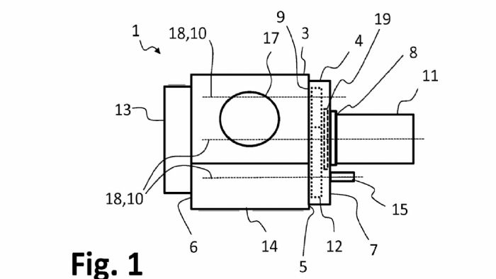
Απλοϊκά αλλά αποκαλυπτικά σχέδια, φαίνεται να κατοχύρωσε η BMW για νέο σύνολο κινητήρα-μοτέρ. Δείτε περισσότερα… ...

Μια απόλυτα μοντέρνα μοτοσυκλέτα σε κλασικές και αγαπημένες, σπορ γραμμές που την μεταμορφώνουν σε ένα σαφώς πιο «εύπεπτο» σύνολο. Πως σας φαίνεται; ...

Ένα ιδιαίτερα ενδιαφέρον όχημα που μπαίνει στον «χορό» της εναλλακτικής δίκυκλης μετακίνησης, κουβαλώντας ένα βαρύ όνομα. Διαβάστε περισσότερα. ...
mototriti.gr | Ταυτότητα
Επωνυμία Επιχείρησης: AUTO ΤΡΙΤΗ ΑΕ
Έδρα - Γραφεία: Λεωφόρος Αμαρουσίου 14 - Νέο Ηράκλειο, Τ.Κ. 141 22
Νομική Μορφή: ΕΚΔΟΤΙΚΗ ΕΤΑΙΡΕΙΑ
Α.Φ.Μ.: 998384177
Δ.Ο.Υ.: ΚΕΦΟΔΕ
Στοιχεία Επικοινωνίας:
E-mail: info@mototriti.gr
Τηλέφωνο: 211 1085500
Ιστοσελίδα: www.mototriti.gr
Διοικητικά Στελέχη
Ιδιοκτήτες & Κύριοι Μέτοχοι: Δανάη Τριανταφύλλη – Δάφνη Τριανταφύλλη
Νόμιμος εκπρόσωπος - Διευθυντής: Νίκος Καρανάσιος
Διευθυντής σύνταξης: Παναγιώτης Σιώπης
Διαχειριστής ονόματος τομέα: ΑUTO ΤΡΙΤΗ Α.Ε.