
Νέα GasGas Enduro 2020
Τετάρτη, 4 Σεπτεμβρίου 2019
H GasGas παρουσιάζει την ανανεωμένη σειρά των Enduro για το 2020. Με έμφαση στην αντοχή και την ευελιξία τα νέα μοντέλα είναι σχεδιασμένα για να ικανο...

H GasGas παρουσιάζει την ανανεωμένη σειρά των Enduro για το 2020. Με έμφαση στην αντοχή και την ευελιξία τα νέα μοντέλα είναι σχεδιασμένα για να ικανο...

Δύο νέες μοτοσυκλέτες παρουσίασε η Indian εμπλουτίζοντας την γκάμα του θρυλικού μοντέλου Scout. Δείτε περισσότερα. ...

50 χρόνια πέρασαν από τότε που η πρώτη Vespa Primavera έκανε την εμφάνισή της και μέχρι σήμερα δεν έχει σταματήσει να εξελίσσεται και να βελτιώνεται. ...

Τι συμβαίνει όταν μοντέρνες τεχνολογίες και μέθοδοι κατασκευής συναντούν έναν vintage κινητήρα και το διαχρονικό sport πνεύμα; Κάτι που αναμφίβολα ξεχ...

Μία νέα bobber μοτοσυκλέτα βρίσκεται στα σκαριά, από την βρετανική CCM. Πως σας φαίνεται; Θα την δούμε και στην Ευρώπη; ...

Με πολύ ιδιαίτερο στυλ και μπαταρίες έτοιμες για χρήση με σύστημα διαμοιρασμού, το Blacksmith Β3 είναι ένα νέο μοντέλο ηλεκτρικού scooter. Δείτε περισ...

Μία νέα, ειδική Indian Scout εθεάθη σε έκθεση, η οποία θα τιμά τα 100 χρόνια ύπαρξης του μοντέλου. Δείτε περισσότερα. ...

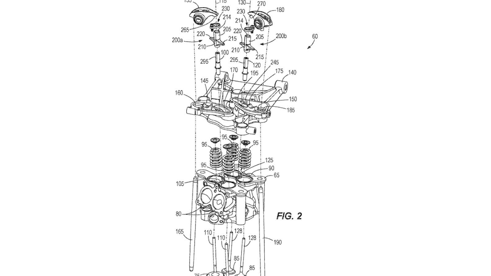
Αλλάζει ριζικά ο κινητήρας της Honda Africa Twin, όπως σχέδια από πατέντες αποκαλύπτουν, αποκτώντας άμεσο ψεκασμό! Δείτε περισσότερα… ...

Έργο τέχνης ή πολεμικό όπλο; Από όποια πλευρά κι αν το δεις, το συγκεκριμένο Thruxton R είναι εντυπωσιακό....

Η Jakusa Designs φέρνει στο σήμερα την εμφάνιση του Yamaha VMAX κάνοντάς το πιο ελκυστικό από ποτέ. Δείτε πώς τα κατάφερε. ...

Ένα μοντέλο που η Triumph διέκοψε αλλά ίσως επαναφέρει, το Thunderbird εμφανίζεται σε έγγραφα-κλειδιά για το 2020! Δείτε περισσότερα… ...

Παρουσιάστηκε και για την ελληνική αγορά, η νέα μοτοσυκλέτα της Brixton στα 250 κυβικά, με το όνομα Glanville. Δείτε περισσότερα… ...

Μια limited μοτοσυκλέτα-έκπληξη παρουσίασε η Norton, η οποία θα φτιαχτεί αποκλειστικά για 50 τυχερούς αναβάτες. Δείτε περισσότερα για την Dominator St...

Σοβαρά έχει πάρει την επέκταση της γκάμας των 125 κυβικών η Yamaha, όπως όλα δείχνουν. Δείτε περισσότερα. ...

Κι άλλες φήμες γύρω από τα επόμενα βήματα της KTM, που μιλούν για έναν νέο κινητήρα στην γκάμα της. Δείτε περισσότερα. ...

Ετοιμάζει την νέα μεγάλη on-off μοτοσυκλέτα της η ΚΤΜ; Δείτε τι αποκαλύπτουν κατάσκοποι…
...

Το επίσημο δελτίο τύπου από την εταιρεία του Milwaukee, που αποκαλύπτει όλα όσα θέλετε να ξέρετε για τα νέα μοντέλα – Δείτε τα όλα εδώ. ...

Πατέντες που αποκαλύπτουν νέο μοτέρ στην ανάπτυξη από την εταιρεία του Milwaukee έκαναν την εμφάνισή τους. Δείτε περισσότερα… ...

Δύο νέα scooters και μια retro μοτοσυκλέτα παρουσίασε η Gemini, προσθέτοντας στην γκάμα μοντέλων για το 2019. Δείτε περισσότερα… ...

Πληροφορίες για χρήση του νέου μοτέρ που χρησιμοποιήθηκε και στην S1000RR του 2019, και στην street adventure της BMW, έκαναν την εμφάνισή τους. Δείτε...
mototriti.gr | Ταυτότητα
Επωνυμία Επιχείρησης: AUTO ΤΡΙΤΗ ΑΕ
Έδρα - Γραφεία: Λεωφόρος Αμαρουσίου 14 - Νέο Ηράκλειο, Τ.Κ. 141 22
Νομική Μορφή: ΕΚΔΟΤΙΚΗ ΕΤΑΙΡΕΙΑ
Α.Φ.Μ.: 998384177
Δ.Ο.Υ.: ΚΕΦΟΔΕ
Στοιχεία Επικοινωνίας:
E-mail: info@mototriti.gr
Τηλέφωνο: 211 1085500
Ιστοσελίδα: www.mototriti.gr
Διοικητικά Στελέχη
Ιδιοκτήτες & Κύριοι Μέτοχοι: Δανάη Τριανταφύλλη – Δάφνη Τριανταφύλλη
Νόμιμος εκπρόσωπος - Διευθυντής: Νίκος Καρανάσιος
Διευθυντής σύνταξης: Παναγιώτης Σιώπης
Διαχειριστής ονόματος τομέα: ΑUTO ΤΡΙΤΗ Α.Ε.