
10 ηλεκτρικά «50άρια» με λιγότερα από 1.500 ευρώ
Τρίτη, 27 Φεβρουαρίου 2024
- Πιάνουν 45 χλμ. / ώρα και ξεκινάνε από 930 ευρώ με την επιδότηση
- Μια φόρτιση κοστίζει λιγότερο από 1 ευρώ και κάνεις έως 100 χιλιόμετρα ...

- Πιάνουν 45 χλμ. / ώρα και ξεκινάνε από 930 ευρώ με την επιδότηση
- Μια φόρτιση κοστίζει λιγότερο από 1 ευρώ και κάνεις έως 100 χιλιόμετρα ...

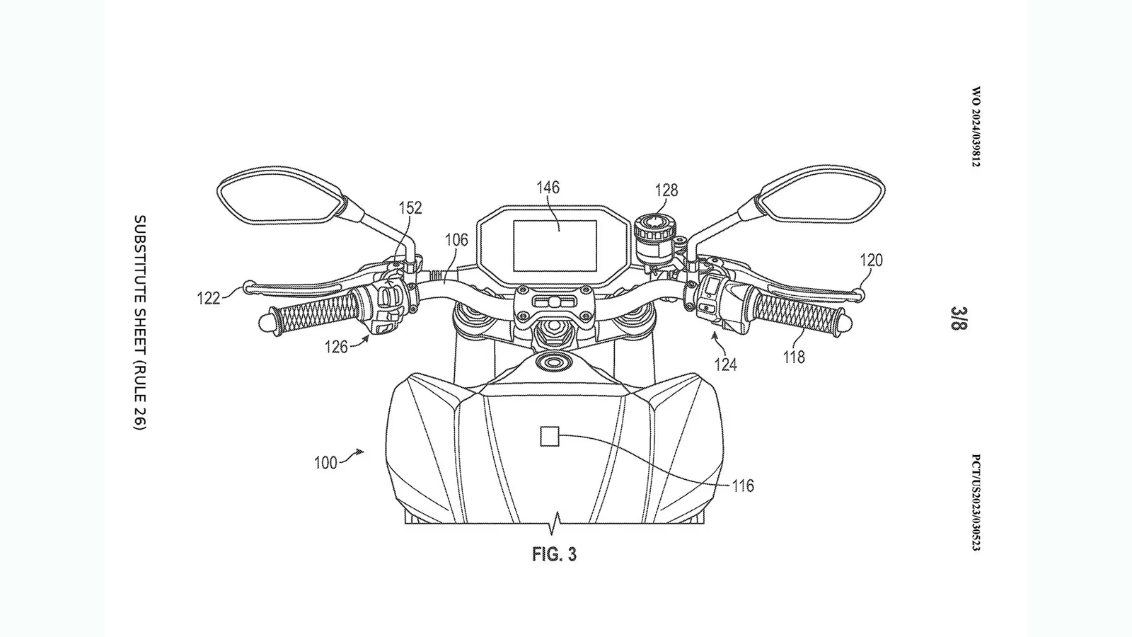
Σκοπός η προσθήκη ενός πρόσθετου παράγοντα ελέγχου
Ρύθμιση της ροπής και της ανάκτησης ενέργειας με τον λεβιέ ...


Το Sunra Crystal 2 είναι ένα ηλεκτρικό scooter, με brushless ηλεκτροκινητήρα 3.000w και τελική ταχύτητα 25 χιλιόμετρων την ώρα ώστε να μην απαιτείται ...

Πιάνει 95 χλμ/ω και έχει αυτονομία 100 χιλιομέτρων
Φορτίζει πλήρως σε ένα 5ωρο ...

Ψηφίστε: Την Vespa Sprint S Elettrica για καλύτερο Ηλεκτρικό
& Κερδίστε: 1 QJMOTOR SVT 650X, 40 κράνη LS2 Vector II και 40 Service ...

- Κοστίζουν όσο ένα entry level ηλεκτρικό ποδήλατο.
- Με 2000 Watt φορτώνεις δεύτερο άτομο και ανεβαίνεις ανηφόρες. ...

34 ίπποι με πιθανή δυνατότητα περιορισμού για το Α1
Με δύο ηλεκτροκινητήρες: Έναν ανά τροχό ...

Ανεπτυγμένο γύρω από το πλαίσιο του 450SR
Δυνατότητα χρήσης της ίδιας γραμμής παραγωγής ...

300χλμ αυτονομία και δυνατότητα φόρτισης στα 35-40kW
2,8 δευτερόλεπτα για το 0-100 και 200χλμ/ω τελική ...

Συμμετοχή στο παγκόσμιο πρωτάθλημα FIM E-Xplorer
Tosha Schareina και Francesca Nocera οι εργοστασιακοί αναβάτες ...

Πιάνουν μέχρι και 130 χλμ. / ώρα, οπότε βγαίνεις άνετα εθνική.
Kάνεις πάνω από 150 χλμ με μια φόρτιση. ...

Lynx από την Vida, θυγατρική της Hero
Με 15kW μέγιστη απόδοση και 11 kW συνεχούς ισχύος ...

- Ηλεκτροκινητήρας 3000W των 40ΑΗ.
- Με τελική ταχύτητα τα 65χλμ/ώρα....

- Η κυβέρνηση «σπρώχνει» την ηλεκτροκίνηση.
- «Αθόρυβα & δεν ρυπαίνουν εκεί που κινούνται»: Στόχος η βελτίωση της ζωής των πολιτών. ...

Προθεσμία 45 ημερών για την υποβολή
Δεσμευμένο ποσό 6,4 εκ. ευρώ διαθέσιμο ...

Το 2024 αναμένεται να είναι μια χρονιά κατά την οποία η ηλεκτροκίνηση θα συνεχίσει να πρωταγωνιστεί. Τα τελευταία χρόνια άλλωστε η ίδια καταγράφει αλμ...

Starmatter: σύστημα ασφαλείας με 6 κάμερες και 2 ραντάρ
204 άλογα και 200 χλμ/ω τελική ...

Αυτά είναι τα καλύτερα ηλεκτρικά scooter που κοστίζουν λιγότερο από 3.000 ευρώ και μπορούν να οδηγηθούν με δίπλωμα ΑΜ....

Επαναφέρει η Tacita ηλεκτρικό δίκυκλο στο dakar
Δίνει το παρόν και η HySE με υδρογονοκίνητο όχημα ...
mototriti.gr | Ταυτότητα
Επωνυμία Επιχείρησης: AUTO ΤΡΙΤΗ ΑΕ
Έδρα - Γραφεία: Λεωφόρος Αμαρουσίου 14 - Νέο Ηράκλειο, Τ.Κ. 141 22
Νομική Μορφή: ΕΚΔΟΤΙΚΗ ΕΤΑΙΡΕΙΑ
Α.Φ.Μ.: 998384177
Δ.Ο.Υ.: ΚΕΦΟΔΕ
Στοιχεία Επικοινωνίας:
E-mail: info@mototriti.gr
Τηλέφωνο: 211 1085500
Ιστοσελίδα: www.mototriti.gr
Διοικητικά Στελέχη
Ιδιοκτήτες & Κύριοι Μέτοχοι: Δανάη Τριανταφύλλη – Δάφνη Τριανταφύλλη
Νόμιμος εκπρόσωπος - Διευθυντής: Νίκος Καρανάσιος
Διευθυντής σύνταξης: Παναγιώτης Σιώπης
Διαχειριστής ονόματος τομέα: ΑUTO ΤΡΙΤΗ Α.Ε.