
BMW: «Τρελή» πατέντα για W3 κινητήρα!
Δευτέρα, 16 Μαρτίου 2015
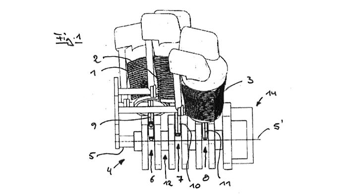
Ένας νέος τρικύλινδρος κινητήρας σε δύο παραλλαγές παρουσιάζεται σε πατέντες που κατέθεσε η BMW πριν λίγους μήνες. Σχεδιαστικά θυμίζει «ανεμιστήρα» κα...

Ένας νέος τρικύλινδρος κινητήρας σε δύο παραλλαγές παρουσιάζεται σε πατέντες που κατέθεσε η BMW πριν λίγους μήνες. Σχεδιαστικά θυμίζει «ανεμιστήρα» κα...

Το σχέδιο της Storm Eindhoven είναι ο γύρος του πλανήτη με μια μοτοσικλέτα τροφοδοτούμενη αποκλειστικά από εναλλακτικές πηγές ενέργειας. Στην πορεία σ...

Για το 2015 η ναυαρχίδα των ATV της KYMCO, το ΜΧU 700i EPS 4X4, εξοπλίζεται με σύστημα EPS (Electric Power Steering) στο σύστημα διεύθυνσης, και αποκτ...

Η Kawasaki κατοχύρωσε πρόσφατα το παραπάνω όνομα, λογικά για μελλοντική χρήση και αυτό ίσως και να σημαίνει ότι οι Ιάπωνες ετοιμάζουν και άλλες μοτοσι...

Συνήθως στις εκθέσεις και διαγωνισμούς custom μοτοσικλετών βλέπουμε εντυπωσιακές κατασκευές βασισμένες σε μοτίβα streetfighter, café racer, race ...

Η Honda παρουσίασε στις 4 Μαρτίου το νέο SH 300i. Με νέο πλαίσιο, μακρύτερο μεταξόνιο, μεγαλύτερο χώρο κάτω από τη σέλα, πιο ροπάτο αλλά και πιο οικον...

Σύμφωνα με πληροφορίες, η Yamaha σχεδιάζει να κατασκευάσει για το 2019 ένα νέο 2θέσιο μίνι αυτοκίνητο με 1.000άρι μοτέρ αλλά και ηλεκτρικές εκδόσεις, ...

Όταν μια μοτοσυκλέτα αποκαλείται WJ300GS Shadow Land Warrior Majestic Space Ranger (ναι, όλο αυτό!) τότε κάπου το ψυχανεμίζεσαι πως πρέπει να προέρχετ...

Η ιδιαίτερα δραστήρια, τον τελευταίο καιρό, ινδική εταιρία θα «επιστρέψει» στα πάτρια εδάφη το 2015, ενώ μεταξύ των τριών νέων μοντέλων, που θα παρουσ...

Κάποιοι βλέπετε ένα Suzuki Katana. Δεν κάνετε λάθος. Η Icon είδε λίγο παραπέρα, έχτισε πάνω του το νέο της σπέσιαλ δημιούργημα και το βάφτισε New Jack...

Φρένο στις αναφορές από την Ιαπωνία που ήθελαν το εξωτικό RC213V-S να έχει πάρει επίσημα το πράσινο φως για την παραγωγή βάζει η Honda, επισημαίνοντας...

Για τους μοναχικούς καβαλάρηδες η Indian παρουσίασε το Dark Horse. Η μοτοσικλέτα της αμερικάνικης εταιρίας βασίζεται στο Chief Classic με το μαύρο ματ...

Η ύπαρξη της αγωνιστικής έκδοσης της F4 μας είναι γνωστή από καιρό και περιμέναμε να την δούμε στην περασμένη EICMA, κάτι που δεν έγινε. Αυτή όμως η τ...

H SYM παρουσιάζει το νέο, και μεγαλύτερο σε κυβικά μέλος της οικογένειας scooter Fiddle, το Fiddle III 200i CBS. Ατού του, η vintage αισθητική, η ποιο...

Η Honda ανακοίνωσε νέα χρώματα για πέντε δημοφιλή μοντέλα της, ειδικές εκδόσεις για μικρά και μεγάλα δίκυκλα αλλά και εντυπωσιακά γραφικά σχέδια με αγ...

Για να γιορτάσει τα 30 χρόνια από την πρώτη εμφάνιση του VMAX, η Yamaha προμήθευσε τον γερμανικό βελτιωτικό οίκο JvB-moto με μια μοτοσικλέτα, ώστε εκε...

Σε φάση δοκιμών φαίνεται πως βρίσκεται το μεγάλο γυμνό της βρετανικής εταιρίας με την Triumph να προχωρά σε πολλές μικρές αλλαγές που αφορούν τουλάχισ...

Ο θρύλος του VMAX συμπληρώνει φέτος 30 χρόνια ζωής. Για να γιορτάσει την περίσταση η ιαπωνική εταιρία παρουσίασε μια ειδική έκδοση του μυώδους VMAX «ν...

Η τεράστια βιομηχανία που ονομάζεται Polaris Industries κατά τα φαινόμενα ετοιμάζεται να εισάγει τη Victory Motorcycles στον ηλεκτρικό κόσμο, απαντώντ...

Ένα εκ των δημοφιλέστερων μοντέλων των απανταχού βελτιωτών και μετασκευαστών, το Honda CB750, προσφέρει τον θρύλο του σε μια μικρή ιταλική μπουτίκ από...
mototriti.gr | Ταυτότητα
Επωνυμία Επιχείρησης: AUTO ΤΡΙΤΗ ΑΕ
Έδρα - Γραφεία: Λεωφόρος Αμαρουσίου 14 - Νέο Ηράκλειο, Τ.Κ. 141 22
Νομική Μορφή: ΕΚΔΟΤΙΚΗ ΕΤΑΙΡΕΙΑ
Α.Φ.Μ.: 998384177
Δ.Ο.Υ.: ΚΕΦΟΔΕ
Στοιχεία Επικοινωνίας:
E-mail: info@mototriti.gr
Τηλέφωνο: 211 1085500
Ιστοσελίδα: www.mototriti.gr
Διοικητικά Στελέχη
Ιδιοκτήτες & Κύριοι Μέτοχοι: Δανάη Τριανταφύλλη – Δάφνη Τριανταφύλλη
Νόμιμος εκπρόσωπος - Διευθυντής: Νίκος Καρανάσιος
Διευθυντής σύνταξης: Παναγιώτης Σιώπης
Διαχειριστής ονόματος τομέα: ΑUTO ΤΡΙΤΗ Α.Ε.