
Tesla Model M Concept
Τετάρτη, 22 Ιουλίου 2015
To Model M δεν υπάρχει, είναι ένα concept που γεννήθηκε στο μυαλό ενός σχεδιαστή και απεικονίζει τη μοτοσικλέτα που θα ήθελε να δει από την Tesla Moto...

To Model M δεν υπάρχει, είναι ένα concept που γεννήθηκε στο μυαλό ενός σχεδιαστή και απεικονίζει τη μοτοσικλέτα που θα ήθελε να δει από την Tesla Moto...

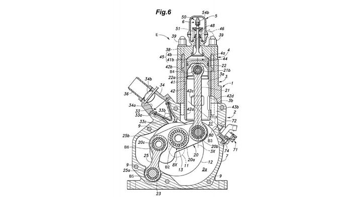
Μια πατέντα που κατέθεσε η Honda στις ΗΠΑ στις 2 Ιουλίου μας παρουσιάζει έναν δίχρονο ψεκαστό κινητήρα diesel με μερικά αναπάντεχα, περίεργα τεχνικά σ...

Είναι Moto Guzzi, δεν αφήνει καμιά αμφιβολία, ποιος όμως μπορεί να βρει ποιο μοντέλο; Το φουτουριστικό Lupus Alpha χτίστηκε πάνω σε ένα California 140...

Μέσω internet βρήκαμε τον Βρετανό ανεξάρτητο σχεδιαστή Lee Thompson, ο οποίος σχεδίασε ένα ενδιαφέρον concept, με μια υπετροφοδοτούμενη γυμνή δικύλινδ...

Η Royal Enfield παρουσίασε ένα σπέσιαλ μοντέλο σε περιορισμένη παραγωγή για την Ινδία με το όνομα Despatch και από τη στιγμή που βγήκε προς πώληση εξα...

Η Indian μας παρουσιάζει μια custom κατασκευή που φτιάχτηκε από τον πιο κατάλληλο άνθρωπο πάνω σε ένα Scout με στόχο να τραβήξει τα βλέμματα του κόσμο...

Η είδηση επιβεβαιώνεται από τον ίδιο τον Giovanni Castiglioni, πρόεδρο της MV Agusta: Η ιταλική εταιρεία ετοιμάζει ένα νέο χιλιάρη κινητήρα και ένα ολ...

Στην Πορτογαλία οδηγήσαμε το νέο Yamaha NMAX, ένα μικρό, ποιοτικό scooter 125 κυβικών εκατοστών, με τεχνολογικά προηγμένο κινητήρα με μεταβλητό χρονισ...

Με βάση ένα ολλανδικό σχέδιο, οι τελευταίες φήμες από τον ιταλικό Τύπο μιλούν για το ενδεχόμενο η Ducati να επεξεργάζεται μια Adventure έκδοση του Mul...

Ο Γερμανικός οίκος Radical Guzzi δείχνει στα ιταλικά εργοστάσια πως πρέπει να κινηθούν αν θέλουν να χτυπήσουν στα ίσια τη BMW. Ανεξαρτήτως προθέσεων, ...

Για μια φορά ακόμη συνελήφθη στην Ισπανία μια υπό εξέλιξη Βρετανίδα. Αυτή τη φορά ο φακός πιάνει μια μοτοσικλέτα σε στυλ bobber, με τον νέο υγρόψυκτο ...

Μια δημοσίευση στον ιαπωνικό Τύπο μας προϊδεάζει για την ενδεχόμενη πρόθεση της Honda να βγάλει στην παραγωγή μια σπορ έκδοση του CB1100 στα 900 κυβικ...

Γνωρίζαμε για την ύπαρξή του εδώ και καιρό, αλλά αυτή είναι η πρώτη φορά που επίσημες φωτογραφίες κυκλοφορούν στο Διαδίκτυο. Το κενό από τα 125 ως τα ...

Για μια ακόμη φορά ο φωτογραφικός συνάντησε το υπό εξέλιξη νέο μοντέλο της Yamaha να κόβει βόλτες εξέλιξης στο Μιλάνο και φυσικά δε θα μπορούσε να χάσ...

Ένα ολλανδικό project ανέλαβε ένα διαλυμένο παλιό XS850 και μέσα σε λίγους μήνες το μετέτρεψε σε ένα λαχταριστό αγωνιστικό πρωτότυπο που μοιάζει να βγ...

Η BMW παρουσιάζει τον νέο κατάμαυρο ειδικό χρωματισμό του R1200GS, καθώς και όλες τις εμφανισιακές αλλαγές που θα έχουν τα υπάρχοντα μοντέλα της γκάμα...

Η τέταρτη γενιά του δημοφιλούς γαλλικού scooter έχει ξεκινήσει να διατίθεται σε χώρες της Ευρώπης με δύο εκδόσεις 50 κυβικών. Ζωντανά χρώματα, κοφτερή...

Η πρόσκληση για συμμετοχή στην έκθεση Born Free ήταν για τον Roland Sands μια ευκαιρία να πραγματοποιήσει ένα από τα όνειρά του, δηλαδή να φορέσει ένα...

Ξέρουμε ότι οι trial μοτοσικλέτες έχουν ελάχιστο αγοραστικό ενδιαφέρον. Ξέρουμε όμως επίσης ότι είναι από τα ομορφότερα δίκυκλα. Γι αυτό σας παρουσιάζ...

Φέτος το GSX-R συμπληρώνει 30 χρόνια στην παραγωγή και επί τη ευκαιρία η Suzuki θα γιορτάσει στον επόμενο αγώνα MotoGP στο Sachsenring της Γερμανίας μ...
mototriti.gr | Ταυτότητα
Επωνυμία Επιχείρησης: AUTO ΤΡΙΤΗ ΑΕ
Έδρα - Γραφεία: Λεωφόρος Αμαρουσίου 14 - Νέο Ηράκλειο, Τ.Κ. 141 22
Νομική Μορφή: ΕΚΔΟΤΙΚΗ ΕΤΑΙΡΕΙΑ
Α.Φ.Μ.: 998384177
Δ.Ο.Υ.: ΚΕΦΟΔΕ
Στοιχεία Επικοινωνίας:
E-mail: info@mototriti.gr
Τηλέφωνο: 211 1085500
Ιστοσελίδα: www.mototriti.gr
Διοικητικά Στελέχη
Ιδιοκτήτες & Κύριοι Μέτοχοι: Δανάη Τριανταφύλλη – Δάφνη Τριανταφύλλη
Νόμιμος εκπρόσωπος - Διευθυντής: Νίκος Καρανάσιος
Διευθυντής σύνταξης: Παναγιώτης Σιώπης
Διαχειριστής ονόματος τομέα: ΑUTO ΤΡΙΤΗ Α.Ε.