
MV Agusta F3 Solar Beam
Παρασκευή, 29 Ιανουαρίου 2016
Επιβεβαιώθηκε η παραγωγή της MV Agusta F3 Solar Beam, που παρουσιάστηκε τον περασμένο Σεπτέμβριο στην Φρανκφούρτη. Η μοτοσικλέτα συμβολίζει τους στε...

Επιβεβαιώθηκε η παραγωγή της MV Agusta F3 Solar Beam, που παρουσιάστηκε τον περασμένο Σεπτέμβριο στην Φρανκφούρτη. Η μοτοσικλέτα συμβολίζει τους στε...

Δύο νέα μοντέλα εισήγαγε στη γκάμα της η Harley Davidson για το 2016, με το ένα από αυτά να αποτελεί δημιουργία του Custom Vehicle Operations, του ind...

Μάλλον πολύ πιο γρήγορα απ΄ ότι υπολογίζαμε θα δούμε το City Adventure Concept στην παραγωγή, αφού ο φωτογραφικός φακός το κατέγραψε στο δρόμο με "cam...

Το ριζικά ανανεωμένο SH300i μας επανασυστήνεται, φιλοδοξώντας να διατηρήσει όλα τα χαρακτηριστικά που το έκαναν τόσο πετυχημένο στις προηγούμενες υλοπ...

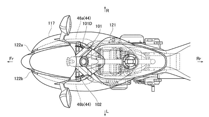
Τελικά δεν θα μείνει μόνο στο στάδιο του concept το τρίτροχο MWT-9 της Yamaha και θα το δούμε στην παραγωγή το 2017, αποτελώντας την πρώτη μοτοσικλέτα...

Στην έκθεση της Βερόνα, η Ducati παρουσίασε τρία νέα concept βασισμένα σε μοντέλα παραγωγής της οικογενείας των Scrambler, ανιχνεύοντας προφανώς τα όρ...

Μετά την από την ανανέωση του Brutale 800, σειρά έχει και η έκδοση των 675 κ.εκ., κάτι που επιβεβαιώθηκε επισήμως από τους ανθρώπους της MV Agusta. ...

Το νέο Piaggio Liberty στις εκδόσεις των 50, 125 και 150 κ.εκ., εμφανίζεται ριζικά ανανεωμένο προκειμένου να προσδώσει μια νέα διάσταση στον τομέα των...

Από την Ιαπωνία και σε αυτή την περίπτωση μας έρχονται οι πληροφορίες, που θέλουν την Kawasaki να παρουσιάζει σύντομα την μικρότερη σε κυβισμό έκδοση...

Μια μικρότερη έκδοση της Africa Twin πήρε το "OK" για παραγωγή σύμφωνα με δημοσιεύματα του Ιαπωνικού τύπου και πιθανότατα θα βασίζεται στο concept CRF...

H πρώτη απόπειρα της Roayal Enfield σε ένα μοντέλο που ξεφεύγει από τα κλασσικά πρότυπα, είναι γεγονός. Το Himalayan είναι μια δωρική προσέγγιση της o...

Mια νέα έκδοση του Tiger 105, προσανατολισμένη για τουριστική χρήση ετοιμάζει η Triumph, με το υπό δοκιμή μοντέλο να έχει φωτογραφηθεί στους δρόμους τ...

Ψηφίστηκε ως η ομορφότερη μοτοσικλέτα της έκθεσης του Μιλάνου και προκάλεσε μεγάλη αίσθηση με το προκλητικό design της. Θεωρείται cruiser για την Duca...

Πριν κάποιες ημέρες, αναρτήσαμε μια είδηση σχετικά με το σύστημα μεταβλητού χρονισμού της Suzuki, το οποίο θα εφαρμόζεται στο νέο GSX-R 1000. Η τεχνολ...

Η παρουσίαση των V9 Roamer & Bobber στην EICMA από την Moto Guzzi έβαλε στην "πρίζα" όλους τους φίλους της V2 εγκάρσιας άποψης, αφού τα δύο αυτά μοντέ...

To Aroma 125, είναι η νέα προταση της Daelim στα scooter πόλης, διαφοροποιούμενο από το σύνολο, με την όμορφη νεορετρό σχεδίαση του. ...

Τα superbikes είναι ό,τι πιο κοντινό στις μοτοσικλέτες που αγωνίζονται σtα εθνικά SBK αλλά και στο Παγκόσμιο Πρωτάθλημα WSBK. Ιδού επτά από τους πρωτα...

Μετά την Kawasaki και η Suzuki φαίνεται πως έχει βλέψεις για την εφαρμογή turbo σε μοτοσικλέτα παραγωγής (όσο παραγωγής θεωρείτε το H2) ακολουθώντας β...

Σας παρουσιάζουμε τα scooter της κατηγορίας των 125 κ.εκ. που αποτέλεσαν τα best seller της χρονιάς που μας πέρασε. ...

Το Z250SL προέρχεται από το... striptease του νέου Ninja 250SL. Δυο δεκάδες κιλά λιγότερα από το 300, πλαίσιο χωροδικτύωμα, sport στήσιμο και επιδόσει...
mototriti.gr | Ταυτότητα
Επωνυμία Επιχείρησης: AUTO ΤΡΙΤΗ ΑΕ
Έδρα - Γραφεία: Λεωφόρος Αμαρουσίου 14 - Νέο Ηράκλειο, Τ.Κ. 141 22
Νομική Μορφή: ΕΚΔΟΤΙΚΗ ΕΤΑΙΡΕΙΑ
Α.Φ.Μ.: 998384177
Δ.Ο.Υ.: ΚΕΦΟΔΕ
Στοιχεία Επικοινωνίας:
E-mail: info@mototriti.gr
Τηλέφωνο: 211 1085500
Ιστοσελίδα: www.mototriti.gr
Διοικητικά Στελέχη
Ιδιοκτήτες & Κύριοι Μέτοχοι: Δανάη Τριανταφύλλη – Δάφνη Τριανταφύλλη
Νόμιμος εκπρόσωπος - Διευθυντής: Νίκος Καρανάσιος
Διευθυντής σύνταξης: Παναγιώτης Σιώπης
Διαχειριστής ονόματος τομέα: ΑUTO ΤΡΙΤΗ Α.Ε.