
Αναφορά σε έναν θρύλο
Πέμπτη, 25 Αυγούστου 2016
Μια μοντέρνα αναβίωση μιας θρυλικής αγωνιστικής μοτοσυκλέτας, μέσα από τις εργασίες μιας ομάδας βελτιωτών και μιας εταιρείας… ρουχισμού! ...

Μια μοντέρνα αναβίωση μιας θρυλικής αγωνιστικής μοτοσυκλέτας, μέσα από τις εργασίες μιας ομάδας βελτιωτών και μιας εταιρείας… ρουχισμού! ...

Πληροφορίες για καινούργιες μοτοσυκλέτες αλλά και άλλες αλλαγές σε συγκεκριμένα μοντέλα της Aprilia και της Moto Guzzi είδαν το φως της δημοσιότητας. ...

Μια ιδιαίτερη πρόταση από τον Oberdan Bezzi, που συνδυάζει το κλασικό τετρακύλινδρο της Honda με πολλές επιρροές από το θρυλικό αγωνιστικό RC30! ...

Μια φωτογραφία που εξασφάλισαν κατάσκοποι μας δείχνει ξεκάθαρα ότι ένα μοντέλο της σειράς Monster, αλλά με τον αερόψυκτο κινητήρα των 800 κ.εκ., δοκιμ...

Μια φωτογραφία που διέρρευσε στο διαδίκτυο αποκαλύπτει το πλαίσιο του, εδώ και πολύ καιρό ανακοινωθέντος, V4 superbike της Norton και μας φαίνεται αρκ...

Κάποια περαιτέρω στοιχεία για το έντονα φημολογούμενο Honda V4 Superbike που θα έρθει έκαναν την εμφάνισή τους, οι οποίες μιλούν ακόμη και για το ποια...

Σε αποκαλύψεις για τον νέο της κινητήρα και τα μοντέλα στα οποία θα χρησιμοποιηθεί προχώρησε η Αμερικανική εταιρεία. ...

Η γνωστή εταιρεία scooters και δικύκλων κατέθεσε πατέντες για μια μοτοσυκλέτα βασισμένη στην ER-6n της Kawasaki. ...

Μια μοτοσυκλέτα-έκφραση της Αμερικανικής μοοσυκλετιστικής κουλτούρας, σύμφωνα με την Ducati.
...

Σε δοκιμές «τσάκωσαν» οι κατάσκοποι το Ducati Scrambler 1200!
...

Μια ιδιαίτερα ενδιαφέρουσα πατέντα κατέθεσε η Honda, με την οποία σχεδιάζει να μετατρέψει τους αγώνες σε μια εξολοκλήρου νέα εμπειρία για τους θεατές....

Βρετανοί δημοσιογράφοι συνέλαβαν το νέο μοντέλο της Ducati, το οποίο είδαμε πριν λίγο καιρό στην World Ducati Week, να δοκιμάζεται με καμουφλάζ. ...

Πληροφορίες σχετικά με νέα μοντέλα της σειράς R nineT από την BMW είδαν το φως της δημοσιότητας.
...

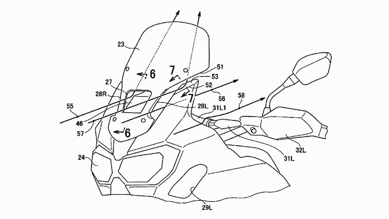
Νέα σχέδια από την Ιαπωνική εταιρεία δόθηκαν στη δημοσιότητα, τα οποία αφορούν το υβριδικό τρίτροχο Neowing αλλά και πιθανές αλλαγές στην Africa Twin....

Πληροφορίες θέλουν την θρυλική αμερικανική μάρκα να παρουσιάζει έναν νέο κινητήρα, με κωδικό Milwaukee-Eight 107....

Ένα νέο βίντεο δημοσίευσε η MV Agusta, σχετικά με το επερχόμενο μοντέλο της, το οποίο θα φέρει την υπογραφή της Zagato. ...

Σχεδιασμένη από το μηδέν, σύμφωνα με τις πληροφορίες, έρχεται η νέα Honda CRF 450.
...

Μια σειρά σχεδίων που κατατέθηκαν από την Ιαπωνική εταιρεία αποκαλύπτουν ότι η Honda ετοιμάζει έναν νέο κινητήρα με μηχανική υπερτροφοδότηση. ...
Πιο ξεχωριστό αλλά το ίδιο παιχνιδιάρικο και διασκεδαστικό με τη βασική έκδοση παρουσιάζεται το Scrambler στην έκδοση Urban Enduro που τα καταφέρνει π...

Το όνομα Astrea Grand, βρίσκεται ξανά στην ελληνική αγορά και κοσμεί ένα νέο παπί που έχει όλα τα στοιχεία για να διεκδικήσει με αξιώσεις το δικό του ...
mototriti.gr | Ταυτότητα
Επωνυμία Επιχείρησης: AUTO ΤΡΙΤΗ ΑΕ
Έδρα - Γραφεία: Λεωφόρος Αμαρουσίου 14 - Νέο Ηράκλειο, Τ.Κ. 141 22
Νομική Μορφή: ΕΚΔΟΤΙΚΗ ΕΤΑΙΡΕΙΑ
Α.Φ.Μ.: 998384177
Δ.Ο.Υ.: ΚΕΦΟΔΕ
Στοιχεία Επικοινωνίας:
E-mail: info@mototriti.gr
Τηλέφωνο: 211 1085500
Ιστοσελίδα: www.mototriti.gr
Διοικητικά Στελέχη
Ιδιοκτήτες & Κύριοι Μέτοχοι: Δανάη Τριανταφύλλη – Δάφνη Τριανταφύλλη
Νόμιμος εκπρόσωπος - Διευθυντής: Νίκος Καρανάσιος
Διευθυντής σύνταξης: Παναγιώτης Σιώπης
Διαχειριστής ονόματος τομέα: ΑUTO ΤΡΙΤΗ Α.Ε.