
Νέο Triumph Street Triple S 2020
Τετάρτη, 8 Ιανουαρίου 2020
Τρικύλινδρο και φιλικό προς το… Α2 δίπλωμα, το νέο Triumph Street Triple S για το 2020 είναι γεγονός. Διαβάστε όλα όσα θέλετε να ξέρετε. ...

Τρικύλινδρο και φιλικό προς το… Α2 δίπλωμα, το νέο Triumph Street Triple S για το 2020 είναι γεγονός. Διαβάστε όλα όσα θέλετε να ξέρετε. ...

Στην έκθεση τεχνολογίας CES παρουσιάστηκε επίσημα, όπως είχε ανακοινωθεί, η Damon Hypersport HS που φιλοδοξεί να αλλάξει την έννοια της «μοτοσυκλέτας ...

Όταν ένας από τους γρηγορότερους οδηγούς του κόσμου σου ζητά μια custom μοτοσυκλέτα, δεν αρνείσαι: Αυτή είναι η δημιουργία των Bad Winners για τον συμ...

Τα σχέδια της για αρκετά νέα μοντέλα μέσα στο 2020, αποκάλυψε η Benelli, τα οποία είναι μπόλικα! Δείτε περισσότερα. ...

Μπορείτε να φανταστείτε ένα 50ρι scooter να κάνει κόντρες με… νίτρα; Κάποιοι μπόρεσαν και όχι μόνο αυτό: Το δημιούργησαν! Απολαύστε. ...

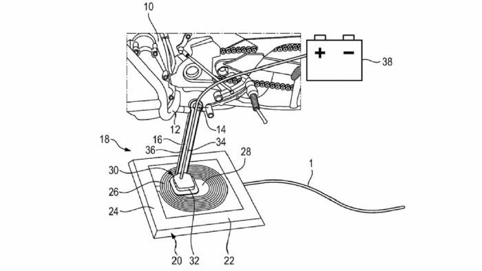
Είναι αυτό το επόμενο βήμα στην ηλεκτροκίνηση; Δείτε τι εξετάζει η BMW, κατοχυρώνοντας πατέντες για τις επόμενες τεχνολογίες της. ...

Η πρακτικότητα περνά σε άλλο επίπεδο με το scooter της Liger Mobility που ισορροπεί και παρκάρει μόνο του σε στενά σημεία. Δείτε το σε δράση....
_241219.jpg)
O David Kay κατασκεύασε τη μια και μοναδική στον κόσμο μοτοσυκλέτα που φέρει το σήμα της Ferrari. Δείτε εδώ την ιστορία της και τον λόγο που κατασκευά...

Η Ιταλική Vins Motors κρατά το αγωνιστικών προδιαγραφών πλαίσιο και τα περιφερειακά της Duecinquanta, αλλά αντί για τον δίχρονο κινητήρα, την εφοδιάζε...

Το ανανεωμένο Husqvarna 701 Enduro του 2020 έφτασε στo Paddock 512. Δες εδώ την τιμή του.
...

Μήπως η Kawasaki προσπαθεί να μας πει κάτι με το βίντεο στο επίσημο κανάλι της στο Youtube και την εμφάνιση μιας GPZ900 στην ταινία «Top Gun: Maverick...

Νέοι ορίζοντες ανοίγονται για τη Gas Gas, η οποία φαίνεται ότι σύντομα θα έχει στην γκάμα της μοτοσυκλέτες δρόμου. Διαβάστε σε ποιες κατηγορίες σκοπεύ...

Όταν μια επιτυχημένη μοτοσυκλέτα της Yamaha αποκτά τα γράμματα SP πίσω από το όνομά της ξέρεις ότι έχεις να κάνεις με κάτι διαφορετικό. Τέτοιου είδους...

Μια κατάλληλη ενδυμασία μπορεί να απογειώσει την εντύπωση που προκαλεί, ένα άτομο που συνήθως κρατά χαμηλό προφίλ. Αυτό ακριβώς συμβαίνει με το SV650X...

Η νέα Kawasaki Ninja 1000SX είναι εδώ και φιλοδοξεί να ενώσει τον κόσμο του δίτροχου τουρισμού με αυτόν της σπορ συμπεριφοράς, με τον ιδιαίτερο τρόπο...

Πως γίνεται να έχει «υβριδικό» όχημα, χωρίς… την ύπαρξη κινητήρα; Η Nawa φαίνεται ότι ξέρει τον τρόπο και θα τον παρουσιάσει δημοσίως… ...

Η cult ταυτότητα της Suzuki Katana θα οδηγήσει και σε νέα μοτοσυκλέτα 125 κυβικών από την Suzuki που ετοιμάζεται; Δείτε τι ξέρουμε. ...

Τεχνικά σχέδια που οδηγούν σε τυμπανοκρουσίες: Είναι αυτά, τα πρώτα στοιχεία για μία νέα Suzuki Hayabusa το 2021; Δείτε περισσότερα. ...

Τα νέα μοντέλα της Husqvarna στα μικρο-μεσαία κυβικά είναι προ των πυλών, όπως αποκαλύφθηκε σε παρουσίαση της Pierer Mobility. Δείτε περισσότερα. ...

(Τουλάχιστον) ένα adventure και ένα τουριστικό μοντέλο ετοιμάζει η Zongshen για το μέλλον, παρουσιάζοντας τα δημοσίως. Τι λέτε εσείς;...
mototriti.gr | Ταυτότητα
Επωνυμία Επιχείρησης: AUTO ΤΡΙΤΗ ΑΕ
Έδρα - Γραφεία: Λεωφόρος Αμαρουσίου 14 - Νέο Ηράκλειο, Τ.Κ. 141 22
Νομική Μορφή: ΕΚΔΟΤΙΚΗ ΕΤΑΙΡΕΙΑ
Α.Φ.Μ.: 998384177
Δ.Ο.Υ.: ΚΕΦΟΔΕ
Στοιχεία Επικοινωνίας:
E-mail: info@mototriti.gr
Τηλέφωνο: 211 1085500
Ιστοσελίδα: www.mototriti.gr
Διοικητικά Στελέχη
Ιδιοκτήτες & Κύριοι Μέτοχοι: Δανάη Τριανταφύλλη – Δάφνη Τριανταφύλλη
Νόμιμος εκπρόσωπος - Διευθυντής: Νίκος Καρανάσιος
Διευθυντής σύνταξης: Παναγιώτης Σιώπης
Διαχειριστής ονόματος τομέα: ΑUTO ΤΡΙΤΗ Α.Ε.