
Triumph Tiger Explorer Chappie
Δευτέρα, 27 Ιουλίου 2015
Μια ακόμη δημιουργία της Jakusa Design μας μαγνητίζει το βλέμμα. Πρόκειται για την εκδοχή ενός Tiger Explorer 1200 στυλιζαρισμένου με βάση το ρομπότ π...

Μια ακόμη δημιουργία της Jakusa Design μας μαγνητίζει το βλέμμα. Πρόκειται για την εκδοχή ενός Tiger Explorer 1200 στυλιζαρισμένου με βάση το ρομπότ π...

Μετά από τις διαρροές στις 22 και 23 Ιουλίου 2015, η Honda Europe προχώρησε στην επίσημη παρουσίαση του νέου CRF1000L Africa Twin. Δείτε τις φωτογραφί...

Ένα γραφικό από έρευνα αγοράς της Triumph διέρρευσε στον αγγλικό Τύπο και αποκαλύπτει πως η εταιρεία επεξεργάζεται αύξηση κυβισμού στο Street Triple τ...

Νέα διαρροή από τη Honda για το CRF1000L Africa Twin. Η πρώτη επίσημη φωτογραφία, και τα πλήρη τεχνικά χαρακτηριστικά της μοτοσικλέτας διέρρευσαν μέσω...

Προ των πυλών βρίσκεται η νέα superbike της Kawasaki, όπως αποκαλύπτει σε συνέντευξή του ο Team Manager της ομάδας WSBK της Kawasaki. Η νέα μοτοσικλέτ...

H Kawasaki παρουσίασε στις ΗΠΑ την τελευταία γενιά του side-by side της, το τετραθέσιο θηρίο Teryx 4. Διαθέσιμο σε διάφορες εκδόσεις και με άφθονο εξο...

Η MV Agusta ακόμη δεν έχει φτιάξει μοτοσικλέτα που να πηγαίνει στο χώμα. Αυτό το κενό ανέλαβε να γεμίσει η Γαλλική Viba, παρουσιάζοντας τη Lara 800, μ...

Το Honda Supra-X 125 Helmin έφτασε στην Ελλάδα, με όλες τις αρετές του προκατόχου Innova, και αρκετά ακόμα δυνατά χαρτιά στα μανίκια του. Full face κά...

Όπως είχαμε γράψει στο πρόσφατο παρελθόν, η Yamaha ετοιμαζόταν για τη δική της σειρά μοτοσικλετών με vintage στιλ, υπό το όνομα Faster Sons. Σύγχρονη ...

To Model M δεν υπάρχει, είναι ένα concept που γεννήθηκε στο μυαλό ενός σχεδιαστή και απεικονίζει τη μοτοσικλέτα που θα ήθελε να δει από την Tesla Moto...

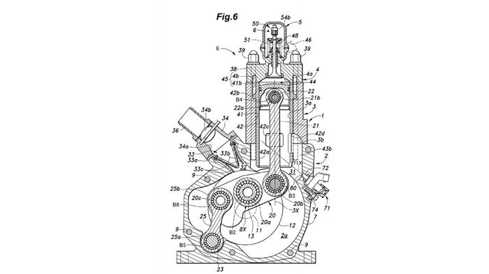
Μια πατέντα που κατέθεσε η Honda στις ΗΠΑ στις 2 Ιουλίου μας παρουσιάζει έναν δίχρονο ψεκαστό κινητήρα diesel με μερικά αναπάντεχα, περίεργα τεχνικά σ...

Είναι Moto Guzzi, δεν αφήνει καμιά αμφιβολία, ποιος όμως μπορεί να βρει ποιο μοντέλο; Το φουτουριστικό Lupus Alpha χτίστηκε πάνω σε ένα California 140...

Μέσω internet βρήκαμε τον Βρετανό ανεξάρτητο σχεδιαστή Lee Thompson, ο οποίος σχεδίασε ένα ενδιαφέρον concept, με μια υπετροφοδοτούμενη γυμνή δικύλινδ...

Η Royal Enfield παρουσίασε ένα σπέσιαλ μοντέλο σε περιορισμένη παραγωγή για την Ινδία με το όνομα Despatch και από τη στιγμή που βγήκε προς πώληση εξα...

Η Indian μας παρουσιάζει μια custom κατασκευή που φτιάχτηκε από τον πιο κατάλληλο άνθρωπο πάνω σε ένα Scout με στόχο να τραβήξει τα βλέμματα του κόσμο...

Η είδηση επιβεβαιώνεται από τον ίδιο τον Giovanni Castiglioni, πρόεδρο της MV Agusta: Η ιταλική εταιρεία ετοιμάζει ένα νέο χιλιάρη κινητήρα και ένα ολ...

Στην Πορτογαλία οδηγήσαμε το νέο Yamaha NMAX, ένα μικρό, ποιοτικό scooter 125 κυβικών εκατοστών, με τεχνολογικά προηγμένο κινητήρα με μεταβλητό χρονισ...

Με βάση ένα ολλανδικό σχέδιο, οι τελευταίες φήμες από τον ιταλικό Τύπο μιλούν για το ενδεχόμενο η Ducati να επεξεργάζεται μια Adventure έκδοση του Mul...

Ο Γερμανικός οίκος Radical Guzzi δείχνει στα ιταλικά εργοστάσια πως πρέπει να κινηθούν αν θέλουν να χτυπήσουν στα ίσια τη BMW. Ανεξαρτήτως προθέσεων, ...

Για μια φορά ακόμη συνελήφθη στην Ισπανία μια υπό εξέλιξη Βρετανίδα. Αυτή τη φορά ο φακός πιάνει μια μοτοσικλέτα σε στυλ bobber, με τον νέο υγρόψυκτο ...
mototriti.gr | Ταυτότητα
Επωνυμία Επιχείρησης: AUTO ΤΡΙΤΗ ΑΕ
Έδρα - Γραφεία: Λεωφόρος Αμαρουσίου 14 - Νέο Ηράκλειο, Τ.Κ. 141 22
Νομική Μορφή: ΕΚΔΟΤΙΚΗ ΕΤΑΙΡΕΙΑ
Α.Φ.Μ.: 998384177
Δ.Ο.Υ.: ΚΕΦΟΔΕ
Στοιχεία Επικοινωνίας:
E-mail: info@mototriti.gr
Τηλέφωνο: 211 1085500
Ιστοσελίδα: www.mototriti.gr
Διοικητικά Στελέχη
Ιδιοκτήτες & Κύριοι Μέτοχοι: Δανάη Τριανταφύλλη – Δάφνη Τριανταφύλλη
Νόμιμος εκπρόσωπος - Διευθυντής: Νίκος Καρανάσιος
Διευθυντής σύνταξης: Παναγιώτης Σιώπης
Διαχειριστής ονόματος τομέα: ΑUTO ΤΡΙΤΗ Α.Ε.