
Africa Twin με Supercharged κινητήρα
Τρίτη, 1 Οκτωβρίου 2024
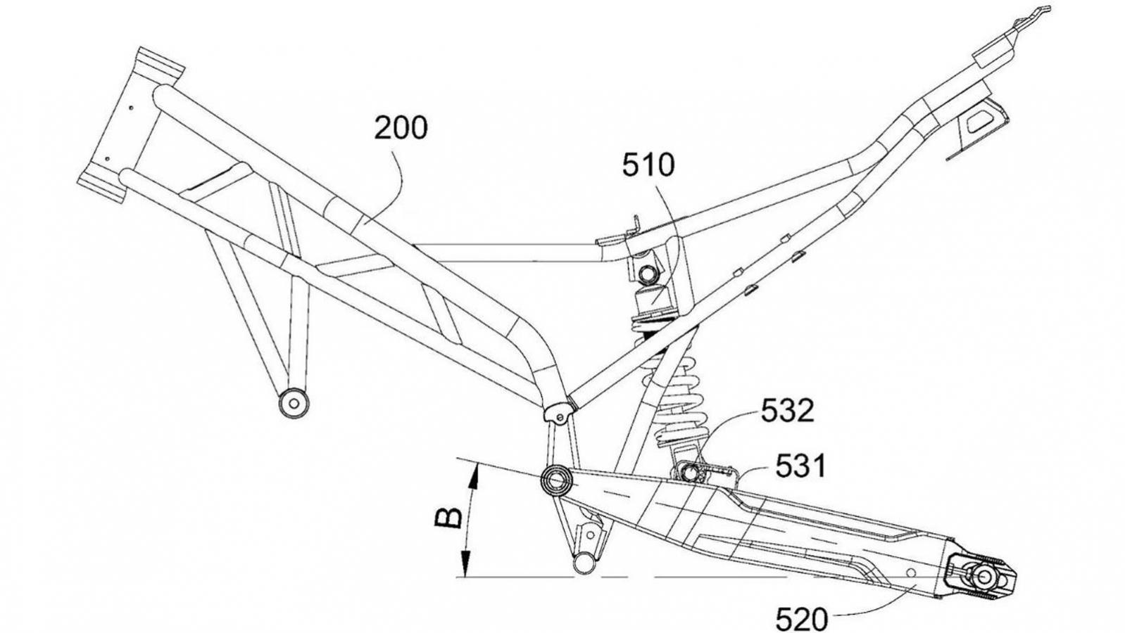
Ένα διαφορετικό σύστημα υπερτροφοδότησης
Μετά από την KAWASAKI , τώρα και η HONDA σχεδιάζει υπερτροφοδοτούμενο κινητήρα ...
Νέα, ειδήσεις & όλα τα καινούργια μοντέλα Μοτοσυκλέτας, Scooter Και παπιά. Δοκιμές & συγκριτικά test. Τιμές για όλα τα μοντέλα της αγοράς. Τα πάντα για καινούρια μοτοσυκλέτα – Scooter και για προιόντα – υπηρεσίες μοτοσυκλέτας.

Ένα διαφορετικό σύστημα υπερτροφοδότησης
Μετά από την KAWASAKI , τώρα και η HONDA σχεδιάζει υπερτροφοδοτούμενο κινητήρα ...

SYM : Το νέο ADX 300 αποδίδει 26 hp και 2,65 κιλά ροπής
Keyless Τεχνολογία, Traction Control και μονάδα ABS ...

Θα κυκλοφορήσει σε μόλις 20 κομμάτια
Εμπνευσμένη από το βιντεοπαιχνίδι Monster Hunter ...

Θα κυκλοφορήσει σε τρείς εκδόσεις με χειροκίνητο και DCT κιβώτιο
Κινητήρας δικύλινδρος εν σειρά 1.084 κυβικά με ισχύ 100 ίππους ...

Ο Όμιλος Επιχειρήσεων Σαρακάκη ανακοινώνει τη δημοσίευση της πρώτης Έκθεσης Βιώσιμης Ανάπτυξης για το έτος αναφοράς 2023 ...

Η Kawasaki αποκτά την πιστοποίηση SSP της "αναβαθμισμένης" ZX-6R
Δικύλινδροι – Τρικύλινδροι κινητήρες αντικαθιστούν τους πολύστροφους 4κυλι...

Νέο καινοτόμο σύστημα από την CFMOTO για την εύκολη ρύθμιση του ύψους οδήγησης
Τεχνολογία από MotoGP ...

- Κινητήρας που αποδίδει 9,7 ίππους, με όρθια τοποθετημένο κύλινδρο.
- Το μόνο παπί 125cc με μανέτα συμπλέκτη και πέντε ταχύτητες. ...

Νέες Τιμές για YAMAHA TENERE 700 & MT-09 Y-AMT
Με μειωμένη τιμή και το Tenere από 10.990 ευρώ ...

Νέα περιθώρια ανοίγονται για το Honda GB350 στην Ευρώπη
Έρχεται για να κερδίσει χώρο στη κατηγορία του ...

439 ταξινομήσεις για την DS 525X
Απόδοση 48 ίππων, ιδανική για Α2 κατηγορία ...

1 έως 5 Οκτωβρίου, Αθήνα
ADX 400TG: Adventure scooter, off-road δυνατοτήτων, 399cc με 35 ίππους ...
1.jpg)
- Κινητήρας 698cc με απόδοση 70 ίππων και 70 Nm ροπής.
- Τετραπίστονες δαγκάνες, ανεστραμμένο πιρούνι και ελαστικά Pirelli. ...

- Δικύλινδρος κινητήρας 799cc με ροπή από χαμηλά και απόδοση 105 ίππων.
- Τρία Riding Modes, Quickshifter, Cornering Traction Control και Immobi...

Νέος V2 κινητήρας που θα αντικαταστήσει τον Testastretta
Τέλος εποχής για Superquadro και ένας νέος κινητήρας πλησιάζει ...

11 Aλογα και 125 κυβικά για το SC125LX
Ένα κομψό Ιταλικό Scooter που προσφέρει στυλ και άνεση ...
.jpg)
Αξιοζήλευτες επιδόσεις και μεγάλη οικονομία καυσίμου
Απόλυτα ασφαλές με Traction Control και δικάναλο ABS ...

- Η QJMOTOR SRT 800X και ο Κωσταντίνος Μητσάκης διασχίζουν Ρουμανία και Βουλγαρία στο δρόμο για την επιστροφή στην Ελλάδα όπου περνόντας τα σύνορα του...

Η CFMOTO μπαίνει δυναμικά στη κατηγορία Sport Touring
CFMOTO με κινητήρα ΚΤΜ ...

V2 κινητήρας που προσφέρει ροπή από τις χαμηλές στροφές
Πλήρες Εξοπλισμένο το νέο μοντέλο της Morbidelli ...
mototriti.gr | Ταυτότητα
Επωνυμία Επιχείρησης: AUTO ΤΡΙΤΗ ΑΕ
Έδρα - Γραφεία: Λεωφόρος Αμαρουσίου 14 - Νέο Ηράκλειο, Τ.Κ. 141 22
Νομική Μορφή: ΕΚΔΟΤΙΚΗ ΕΤΑΙΡΕΙΑ
Α.Φ.Μ.: 998384177
Δ.Ο.Υ.: ΚΕΦΟΔΕ
Στοιχεία Επικοινωνίας:
E-mail: info@mototriti.gr
Τηλέφωνο: 211 1085500
Ιστοσελίδα: www.mototriti.gr
Διοικητικά Στελέχη
Ιδιοκτήτες & Κύριοι Μέτοχοι: Δανάη Τριανταφύλλη – Δάφνη Τριανταφύλλη
Νόμιμος εκπρόσωπος - Διευθυντής: Νίκος Καρανάσιος
Διευθυντής σύνταξης: Παναγιώτης Σιώπης
Διαχειριστής ονόματος τομέα: ΑUTO ΤΡΙΤΗ Α.Ε.