
Honda ADV 350 - Οδηγούμε στη Σικελία
Δευτέρα, 31 Ιανουαρίου 2022
Με τα scooter να έχουν ήδη κερδίσει το μεγαλύτερο μέρος των αναβατών στις πόλεις, μια νέα κατηγορία ξεκινά. Τα Adventure scooter είναι η επόμενη τάση ...

Με τα scooter να έχουν ήδη κερδίσει το μεγαλύτερο μέρος των αναβατών στις πόλεις, μια νέα κατηγορία ξεκινά. Τα Adventure scooter είναι η επόμενη τάση ...

Η Honda δουλεύει διαρκώς, σε σχέδια νέων μοντέλων για τα επόμενα έτη και ήδη, με… πλάγιο τρόπο, έχει παραδεχθεί το επερχόμενο Honda Hornet. ...

Η αύξηση της δημοτικότητας της Ducati κατά την διάρκεια των ετών, είναι δεδομένη, με την εταιρεία όχι απλά να εξασφαλίζει την επιχειρηματική της επιτυ...

Η BMW δεν είναι σε καμία περίπτωση «ξένη» στην ηλεκτροκίνηση, καθώς πειραματίζεται στον χώρο εδώ και πολλά χρόνια. ...

Σύμφωνα με ευρήματα διεθνών πηγών ειδήσεων, η Yamaha κατοχύρωσε δύο νέους κωδικούς μοντέλων, που θα παρουσιαστούν στο εγγύς μέλλον. ...

Η Honda αποκάλυψε το νέο της CB300R για το 2022. Το μοντέλο, που αποτελεί κομμάτι της Neo Sports Café γκάμας της εταιρείας, έρχεται με αλλαγές γι...

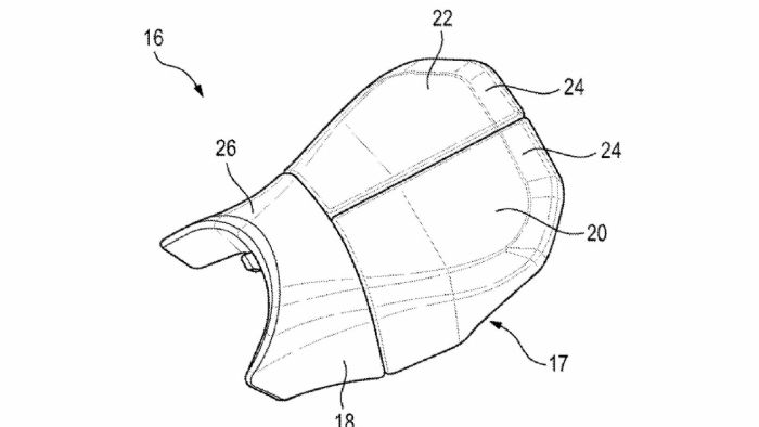
Πριν από λίγα 24ωρα, μια ενδιαφέρουσα πατέντα από την BMW εμφανίστηκε σε διεθνείς ειδησεογραφικές πηγές....

Αν θέλεις να κάνεις τις καθημερινές σου μετακινήσεις με το ελάχιστο δυνατό κόστος, δεν έχεις παρά να επισκεφτείς την Green Revolution και να γνωρίσεις...

Σε ένα Honda κόσμο γεμάτο ευκολία και DCT κιβώτια, η βασική έκδοση του νέου NC 750Χ επενδύει στις παραδοσιακές αλλαγές ταχυτήτων με συμπλέκτη, προσφέρ...

Στην έκθεση της EICMA τον Νοέμβριο, είδαμε για πρώτη φορά και την πρωτότυπη Yamaha Tenere 700 Raid, μια έκδοση της πασίγνωστης Tenere 700 ακόμα πιο εξ...

Η Royal Enfield παρουσιάζει την ολοκαίνουρια Classic 350 για τις ευρωπαϊκές αγορές.
...
_131221 (1).jpg)
Με τελική 125 χιλιόμετρα και μεγάλη αυτονομία 160 χιλιομέτρων, η νέα ηλεκτρική πρόταση της Ισπανικής RAY ELECTRIC MOTORS θα σε ταξιδέψει με άνεση σε α...

Η ραγδαία ανάπτυξη νέων μοτοσυκλετών, αλλά και τεχνολογιών, από τα κινεζικά εργοστάσια φαίνεται πως είναι ασταμάτητη. ...

H Ducati κατασκευάζει φοβερά ποθητές μοτοσυκλέτες, σε επίπεδο που κάνει μερικούς να… παρανομήσουν, για μια γεύση του Italian exotica! ...

Με το ρετρό και στιλάτο E-Ride E-RV η αυτονομία δεν αποτελεί πρόβλημα, αφού μπορείς να κάνεις έως 150 χιλιόμετρα με μια φόρτιση....

Με τιμή παπιού, κατανάλωση 1.8 λτ/100χλμ και πάνω από 600χλμ αυτονομία το CB125F υπόσχεται να κάνει ευκολότερη την καθημερινότητά σου....

Η αγαπημένη μας Ιαπωνία, πάντα με τους δικούς της νόμους για οχήματα και τον δικό της τρόπο ζωής, κατάφερνε να «βγάζει» ιδιαίτερα μοντέλα από τις εται...

Η νέα BMW F900R κάνει δυναμική είσοδο στην κατηγορία των naked 900 κυβικών, παίζοντας νότες υψηλής έντασης και προσελκύοντας τον αναβάτη να απολαύσει ...

Η γκάμα των μοντέλων της Voge, που φέρουν κινητήρα 500 κυβικών, είναι μια από τις πιο επιτυχημένες της εταιρείας και απευθύνονται σε πολύ μεγάλη μερί...

Το νέο SYM VF 185 θα πολεμήσει στο πλευρό σου σε δρόμους πλατείες και στενά, για να επαναφέρει τη χαμένη τιμή των παπιών. Κλέβει τα πλεονεκτήματα των ...
mototriti.gr | Ταυτότητα
Επωνυμία Επιχείρησης: AUTO ΤΡΙΤΗ ΑΕ
Έδρα - Γραφεία: Λεωφόρος Αμαρουσίου 14 - Νέο Ηράκλειο, Τ.Κ. 141 22
Νομική Μορφή: ΕΚΔΟΤΙΚΗ ΕΤΑΙΡΕΙΑ
Α.Φ.Μ.: 998384177
Δ.Ο.Υ.: ΚΕΦΟΔΕ
Στοιχεία Επικοινωνίας:
E-mail: info@mototriti.gr
Τηλέφωνο: 211 1085500
Ιστοσελίδα: www.mototriti.gr
Διοικητικά Στελέχη
Ιδιοκτήτες & Κύριοι Μέτοχοι: Δανάη Τριανταφύλλη – Δάφνη Τριανταφύλλη
Νόμιμος εκπρόσωπος - Διευθυντής: Νίκος Καρανάσιος
Διευθυντής σύνταξης: Παναγιώτης Σιώπης
Διαχειριστής ονόματος τομέα: ΑUTO ΤΡΙΤΗ Α.Ε.