
Έρχονται οι υαλοκαθαριστήρες για κράνη!
Τρίτη, 7 Μαρτίου 2017
Δείτε τον υαλοκαθαριστήρα για κράνη, που αποτελεί το νέο όπλο των μοτοσικλετιστών ενάντια στη βροχή.
...

Δείτε τον υαλοκαθαριστήρα για κράνη, που αποτελεί το νέο όπλο των μοτοσικλετιστών ενάντια στη βροχή.
...

Φιλοξενούνται περισσότερες από 60 μοτοσικλέτες από τη δεκαετία του 70, του 80 και του 90.
...

Το Handle είναι ένα ρομπότ, το οποίο κινείται πάνω σε δύο τροχούς και μπορεί να αποτελέσει το εφαλτήριο για την ανάπτυξη καινοτομιών πάνω στο χώρο της...

Για πρώτη φορά ανάμεσα στους κατασκευαστές μοτοσυκλετών , η Suzuki φέρνει την οπισθοπορεία σε σύστημα H.U.D...

Με τα δύο νέα κράνη να είναι αφιερωμένα στους Deadpool και Ghost Rider, η εταιρία HJC αποφάσισε να επεκτείνει τον κατάλογο των κρανών που είναι αφιερω...

Η αγορά μιας καινούργιας μοτοσυκλέτας, είναι από μόνη της ικανή να μας γεμίσει με συναισθήματα χαράς και ανυπομονησίας. Μπορεί όμως να μας οδηγήσει κα...

Ο γνωστός αστέρας του Χόλυγουντ Keanu Reeves σχεδίασε τη δική του μοτοσυκλέτα με την ονομασία KRGT-1. Το τελικό προϊόν κατασκευάζεται από την εταιρία...

Η εταιρία Hoversurf κατασκεύασε μια ιπτάμενη μοτοσυκλέτα η οποία μπορεί να πιάσει τα 100 χλμ/ώρα και είναι η πρώτη που παρουσιάζει αυξημένη ευελιξία. ...

Αιωρούμενο GS με boxer, που θυμίζει τα Hover Bikes από τον πόλεμο των άστρων. Είναι το μέλλον… τώρα; Η μήπως συμβαίνει κάτι άλλο… πιο προσ...

Το κουστούμι και το επιστρωμένο από διαμάντια μπαστούνι, του πιο διάσημου stunt performer στον κόσμο, Evel Knievel, είναι προς δημοπρασία. Μια πρώτης ...

To Αuto Τρίτη Τouring και αυτήν την εβδομάδα μας ταξιδεύει... στο Nαύπλιο. Ανεβάστε φωτογραφία από Ναύπλιο ή κάντε like σε όποια σας αρέσει και διεκδι...

Mπορεί να είμαστε ακόμα στην αρχή της χρονιάς αλλά ήδη έχει ολοκληρωθεί ένα σημαντικότατο event δημοπρασίας κλασσικών μοτοσικλετών στο Las Vegas. Ποδα...

Crash test στις δύο ομορφότερες παραλίμνιες πόλεις της Ελλάδας, που «μάχονται» για τη δική σας ψήφο και προτίμηση! Καστοριά και Γιάννενα δίκαια αποτελ...

Ξινόμαυρο, Chardonnay και Merlot. Διαδρομές σε υπόγεια κελάρια με βαρέλια ολόγυρα και τη μυρωδιά του κρασιού να ξυπνάει τα σωθικά σου. Δοκιμές σε σοδε...

To είδαμε και αυτό! Μία συμμορία που ειδικεύεται στην κλοπή μοτοσυκλετών δημιούργησε λογαριασμό στο Instagram, με σκοπό να περηφανευτούν για την δουλε...

Εδώ στη ζεστή, Μεσογειακή Ελλάδα μας, σε απόσταση αναπνοής από πολλά αστικά κέντρα ή και λίγο μακρύτερα, το βασίλειο του χιονιού σας περιμένει, ένας κ...

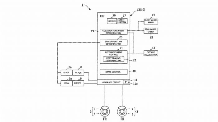
Αλλο ένα πρωτοποριακό σύστημα φαίνεται πως σχεδιάζει η Honda για να κάνει ασφαλέστερη την οδήγηση της μοτοσυκλέτας μέσα στο αστικό περιβάλλον....

H εταιρία Sena είναι γνωστή για τις συσκευές επικοινωνίας μέσω Bluetooth τις οποίες κατασκευάζει. Πέρα όμως από τις συσκευές Bluetooth κάνει βήματα κα...

H γιορτή των ερωτευμένων έφθασε κι εμείς σας προτείνουμε τους top ελληνικούς ρομαντικούς προορισμούς! ...

Μία νέα είδηση που έρχεται από την άλλη πλευρά του πλανήτη και συγκεκριμένα την Ιαπωνία, είναι πως η Honda θα συνεργαστεί με την Hitachi για να κατασκ...
mototriti.gr | Ταυτότητα
Επωνυμία Επιχείρησης: AUTO ΤΡΙΤΗ ΑΕ
Έδρα - Γραφεία: Λεωφόρος Αμαρουσίου 14 - Νέο Ηράκλειο, Τ.Κ. 141 22
Νομική Μορφή: ΕΚΔΟΤΙΚΗ ΕΤΑΙΡΕΙΑ
Α.Φ.Μ.: 998384177
Δ.Ο.Υ.: ΚΕΦΟΔΕ
Στοιχεία Επικοινωνίας:
E-mail: info@mototriti.gr
Τηλέφωνο: 211 1085500
Ιστοσελίδα: www.mototriti.gr
Διοικητικά Στελέχη
Ιδιοκτήτες & Κύριοι Μέτοχοι: Δανάη Τριανταφύλλη – Δάφνη Τριανταφύλλη
Νόμιμος εκπρόσωπος - Διευθυντής: Νίκος Καρανάσιος
Διευθυντής σύνταξης: Παναγιώτης Σιώπης
Διαχειριστής ονόματος τομέα: ΑUTO ΤΡΙΤΗ Α.Ε.