Νέος δίχρονος κινητήρας της GM: Πατέντα με e-Turbo και θυρίδες χιτωνίου αλλάζει τα δεδομένα

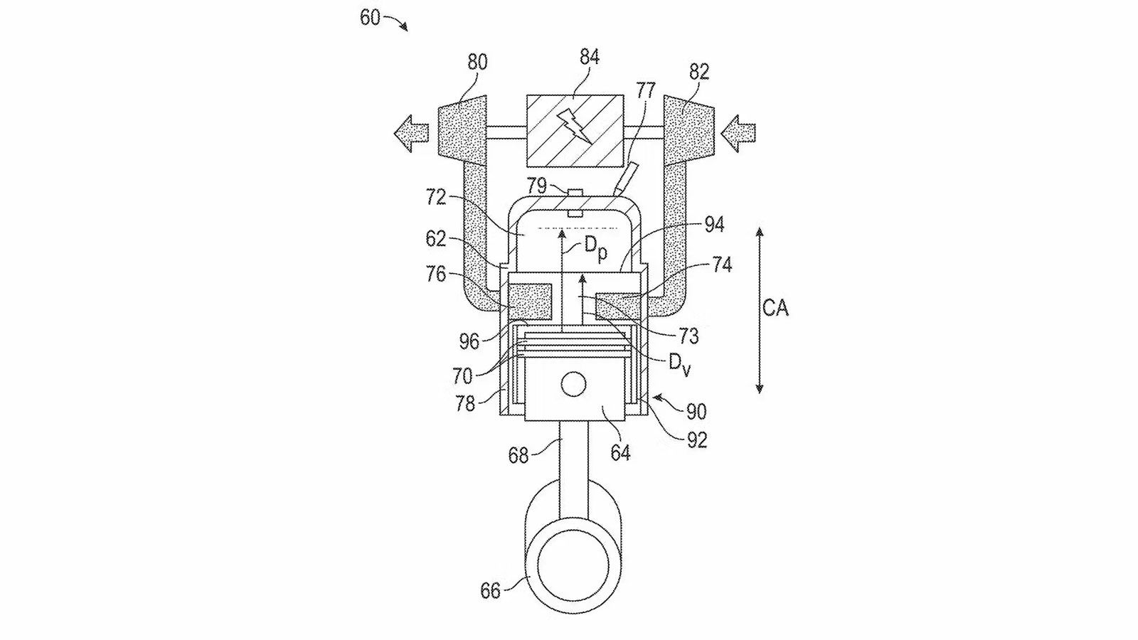
Η διαφορά σήμερα είναι ότι η GM αντικαθιστά τα βαριά μηχανικά συστήματα με ηλεκτρομηχανικό ενεργοποιητή, δηλαδή έναν ηλεκτροκινητήρα που ελέγχει με ακ

Η διαφορά σήμερα είναι ότι η GM αντικαθιστά τα βαριά μηχανικά συστήματα με ηλεκτρομηχανικό ενεργοποιητή, δηλαδή έναν ηλεκτροκινητήρα που ελέγχει με ακρίβεια τη θέση του χιτωνίου.