Νέος δίχρονος κινητήρας της GM: Πατέντα με e-Turbo και θυρίδες χιτωνίου αλλάζει τα δεδομένα

Παρά τον ενθουσιασμό που προκαλεί η ιδέα ενός σύγχρονου δίχρονου κινητήρα με e-Turbo, η GM δεν στοχεύει στις επιδόσεις ή στη μοτοσυκλετιστική χρήση.

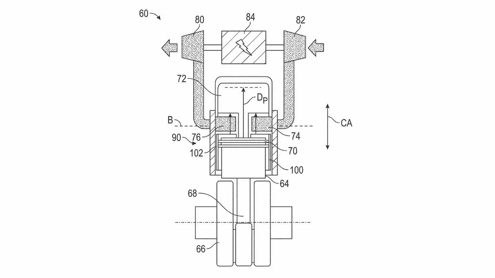
Παρά τον ενθουσιασμό που προκαλεί η ιδέα ενός σύγχρονου δίχρονου κινητήρα με e-Turbo, η GM δεν στοχεύει στις επιδόσεις ή στη μοτοσυκλετιστική χρήση.