Νέος δίχρονος κινητήρας της GM: Πατέντα με e-Turbo και θυρίδες χιτωνίου αλλάζει τα δεδομένα

Η GM επαναφέρει τον δίχρονο: Πατέντα με e-Turbo, κομπρέσορα και καθαρή καύση

Η GM επαναφέρει τον δίχρονο: Πατέντα με e-Turbo, κομπρέσορα και καθαρή καύση

Ο δίχρονος κινητήρας θεωρείται διαχρονικά η πιο αποδοτική μορφή παλινδρομικού κινητήρα, καθώς αποδίδει έργο σε κάθε περιστροφή του στροφαλοφόρου, παρά

Ο δίχρονος κινητήρας θεωρείται διαχρονικά η πιο αποδοτική μορφή παλινδρομικού κινητήρα, καθώς αποδίδει έργο σε κάθε περιστροφή του στροφαλοφόρου, παράγοντας ροπή με διπλάσια συχνότητα σε σχέση με έναν τετράχρονο.

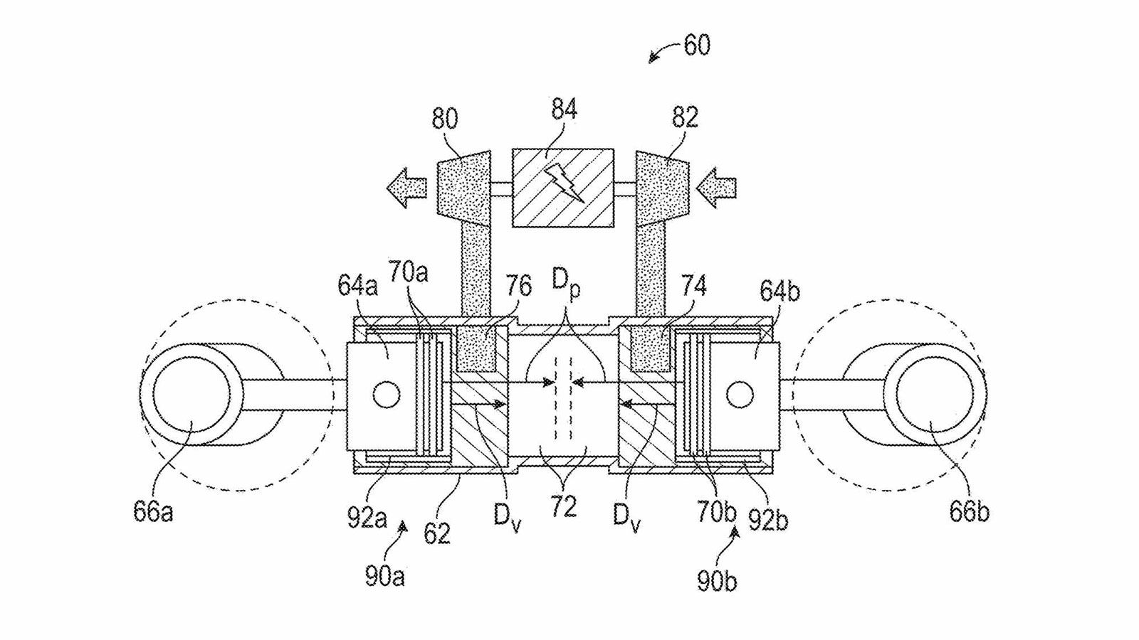
Στην καρδιά της νέας πρότασης της GM βρίσκεται ένα σύστημα θυρίδων με χιτώνιο , μια τεχνολογία που δεν είναι καινούργια, αλλά έχει τις ρίζες της στις

Στην καρδιά της νέας πρότασης της GM βρίσκεται ένα σύστημα θυρίδων με χιτώνιο , μια τεχνολογία που δεν είναι καινούργια, αλλά έχει τις ρίζες της στις αρχές του 20ού αιώνα.