Yamaha R1 με ενεργούς αεραγωγούς: Νέα πατέντα για αεροδυναμική και ψύξη μαζί

Η Yamaha R1, η εμβληματική superbike των Ιαπώνων, φαίνεται πως επιστρέφει στο προσκήνιο – όχι με νέο μοντέλο παραγωγής ακόμα, αλλά με μια καινοτ

Η Yamaha R1, η εμβληματική superbike των Ιαπώνων, φαίνεται πως επιστρέφει στο προσκήνιο – όχι με νέο μοντέλο παραγωγής ακόμα, αλλά με μια καινοτόμα πατέντα που αποκαλύπτει το μέλλον της.

Το έγγραφο ευρεσιτεχνίας δείχνει ένα ριζικά ανασχεδιασμένο φέρινγκ, με ενεργούς αεραγωγούς που μπορούν να ανοίγουν ή να κλείνουν αυτόματα, προσαρμόζον

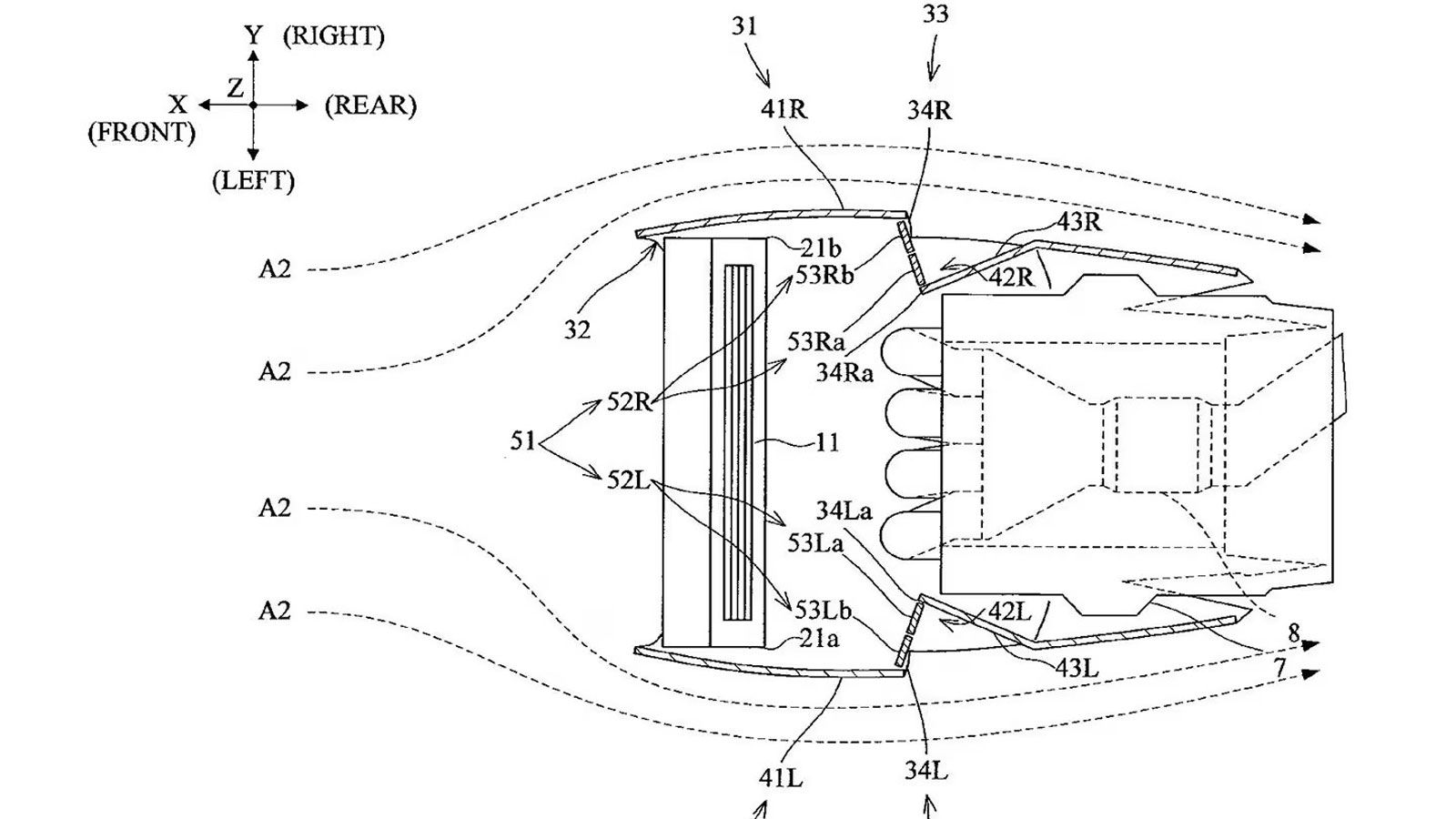
Το έγγραφο ευρεσιτεχνίας δείχνει ένα ριζικά ανασχεδιασμένο φέρινγκ, με ενεργούς αεραγωγούς που μπορούν να ανοίγουν ή να κλείνουν αυτόματα, προσαρμόζοντας τη ροή του αέρα γύρω και μέσα από το ψυγείο.

Σε αντίθεση με τις κλασικές λύσεις που εμποδίζουν την είσοδο αέρα στο ψυγείο, η πατέντα της Yamaha για την R1 προτείνει έξοδος θερμού αέρα μέσω κινητώ

Σε αντίθεση με τις κλασικές λύσεις που εμποδίζουν την είσοδο αέρα στο ψυγείο, η πατέντα της Yamaha για την R1 προτείνει έξοδος θερμού αέρα μέσω κινητών πτερυγίων στο φέρινγκ.