Yamaha R1 με ενεργούς αεραγωγούς: Νέα πατέντα για αεροδυναμική και ψύξη μαζί

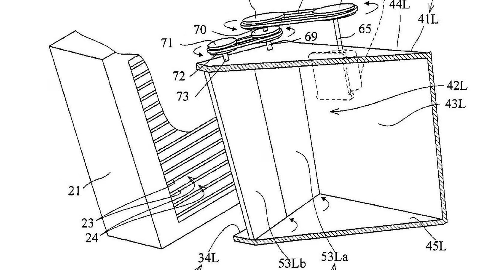
Το σύστημα λειτουργεί μέσω μικρών stepper motor και ιμάντων, που κινούν δύο πτερύγια ανά αεραγωγό. Ο εγκέφαλος της μοτοσυκλέτας λαμβάνει δεδομένα από

Το σύστημα λειτουργεί μέσω μικρών stepper motor και ιμάντων, που κινούν δύο πτερύγια ανά αεραγωγό. Ο εγκέφαλος της μοτοσυκλέτας λαμβάνει δεδομένα από πολλαπλές πηγές: θερμοκρασία κινητήρα, ταχύτητα, θέση γκαζιού, εξωτερική θερμοκρασία και θερμοκρασία καταλύτη.