Ducati: Αναπτύσσει αυτόματο συμπλέκτη για sport μοτοσυκλέτες

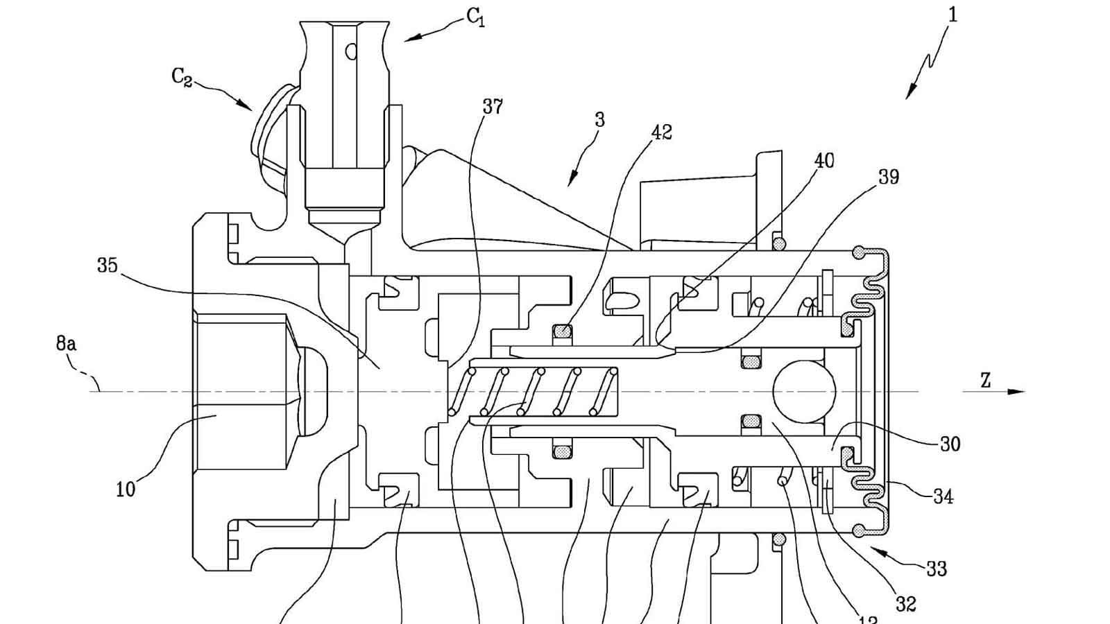
Αυτόματος συμπλέκτης χωρίς αυτόματο κιβώτιο

Αυτόματος συμπλέκτης χωρίς αυτόματο κιβώτιο

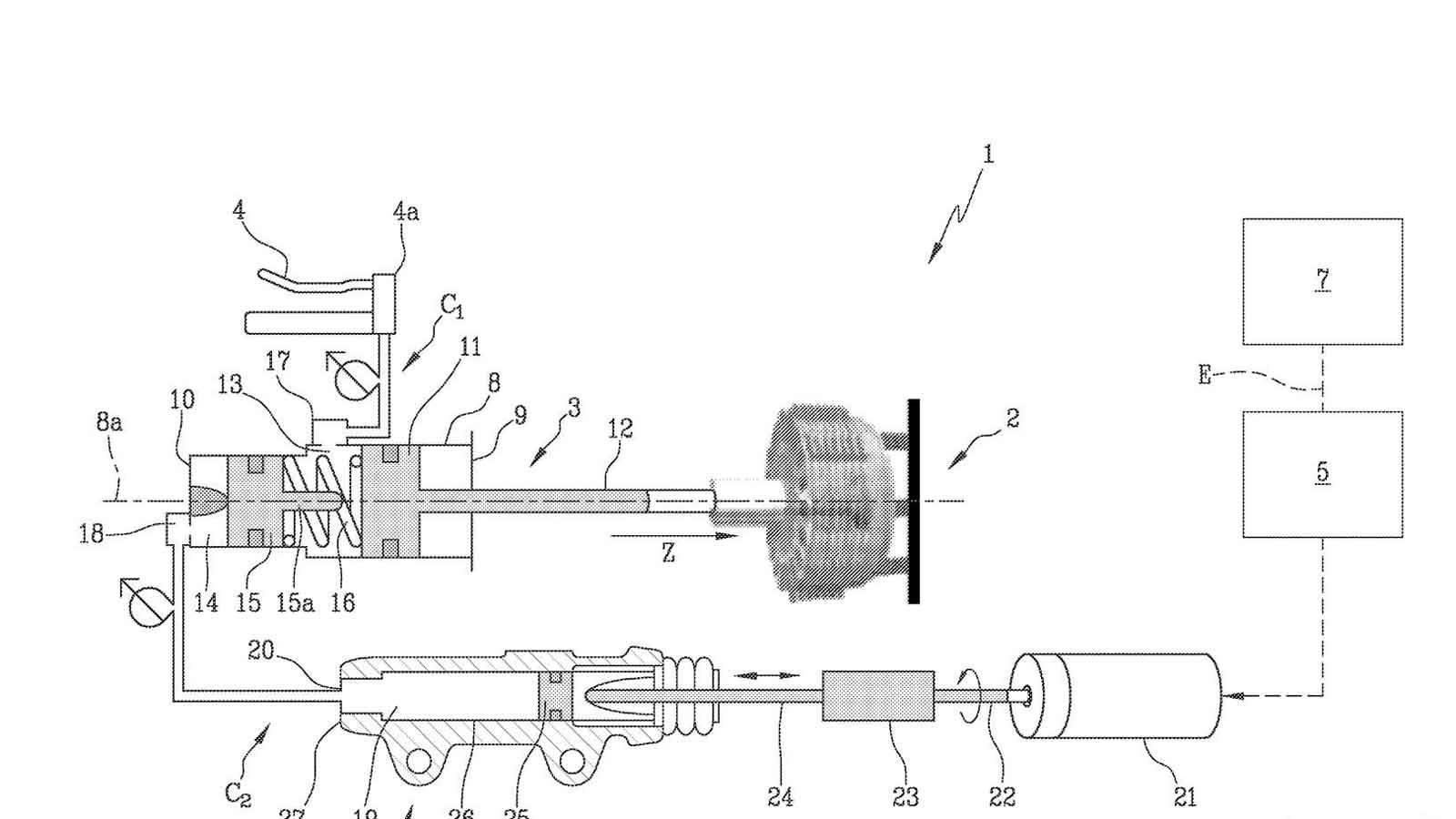
Δύο εκδοχές – υδραυλικό σύστημα με ηλεκτρομηχανική υποστήριξη

Δύο εκδοχές – υδραυλικό σύστημα με ηλεκτρομηχανική υποστήριξη

Anti-stall, launch control και υποστήριξη σε χαμηλές ταχύτητες

Anti-stall, launch control και υποστήριξη σε χαμηλές ταχύτητες