Ducati: Αναπτύσσει αυτόματο συμπλέκτη για sport μοτοσυκλέτες

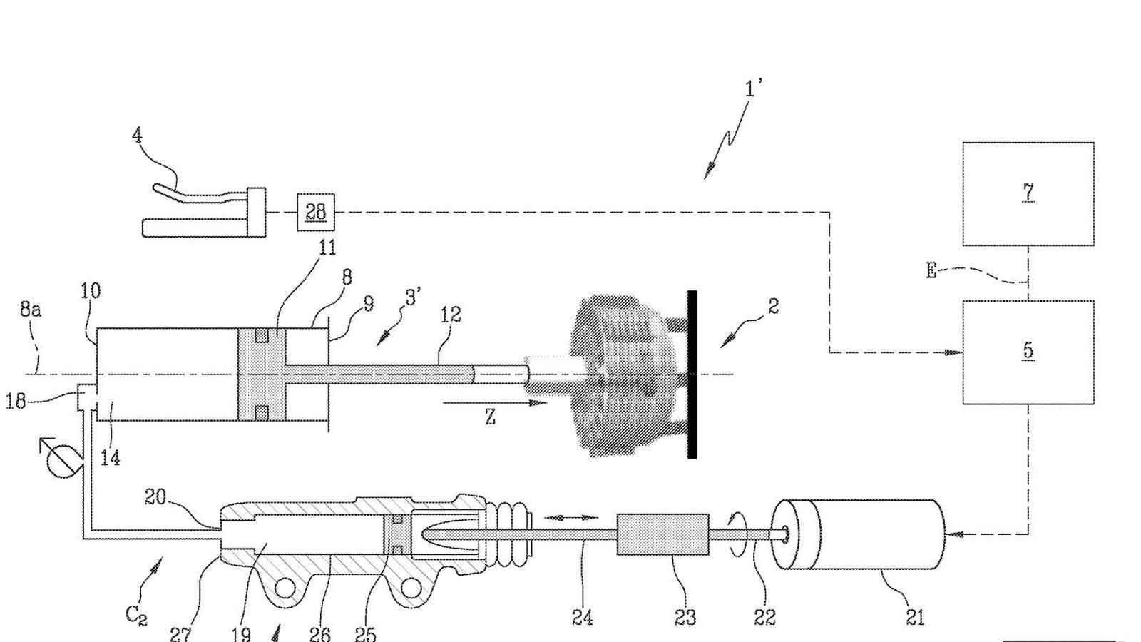
Η τεχνολογία αυτή επιτρέπει στον αναβάτη να οδηγεί με μεγαλύτερη άνεση, διατηρώντας τον πλήρη έλεγχο των σχέσεων.

Η τεχνολογία αυτή επιτρέπει στον αναβάτη να οδηγεί με μεγαλύτερη άνεση, διατηρώντας τον πλήρη έλεγχο των σχέσεων.