Η Toyota κατοχυρώνει scooter υδρογόνου: Νέα πρόταση με αποσπώμενες φιάλες καυσίμου

Η Toyota, ένας από τους μεγαλύτερους υποστηρικτές της τεχνολογίας υδρογόνου παγκοσμίως, δείχνει πως δεν περιορίζεται πλέον μόνο στα αυτοκίνητα.

Η Toyota, ένας από τους μεγαλύτερους υποστηρικτές της τεχνολογίας υδρογόνου παγκοσμίως, δείχνει πως δεν περιορίζεται πλέον μόνο στα αυτοκίνητα.

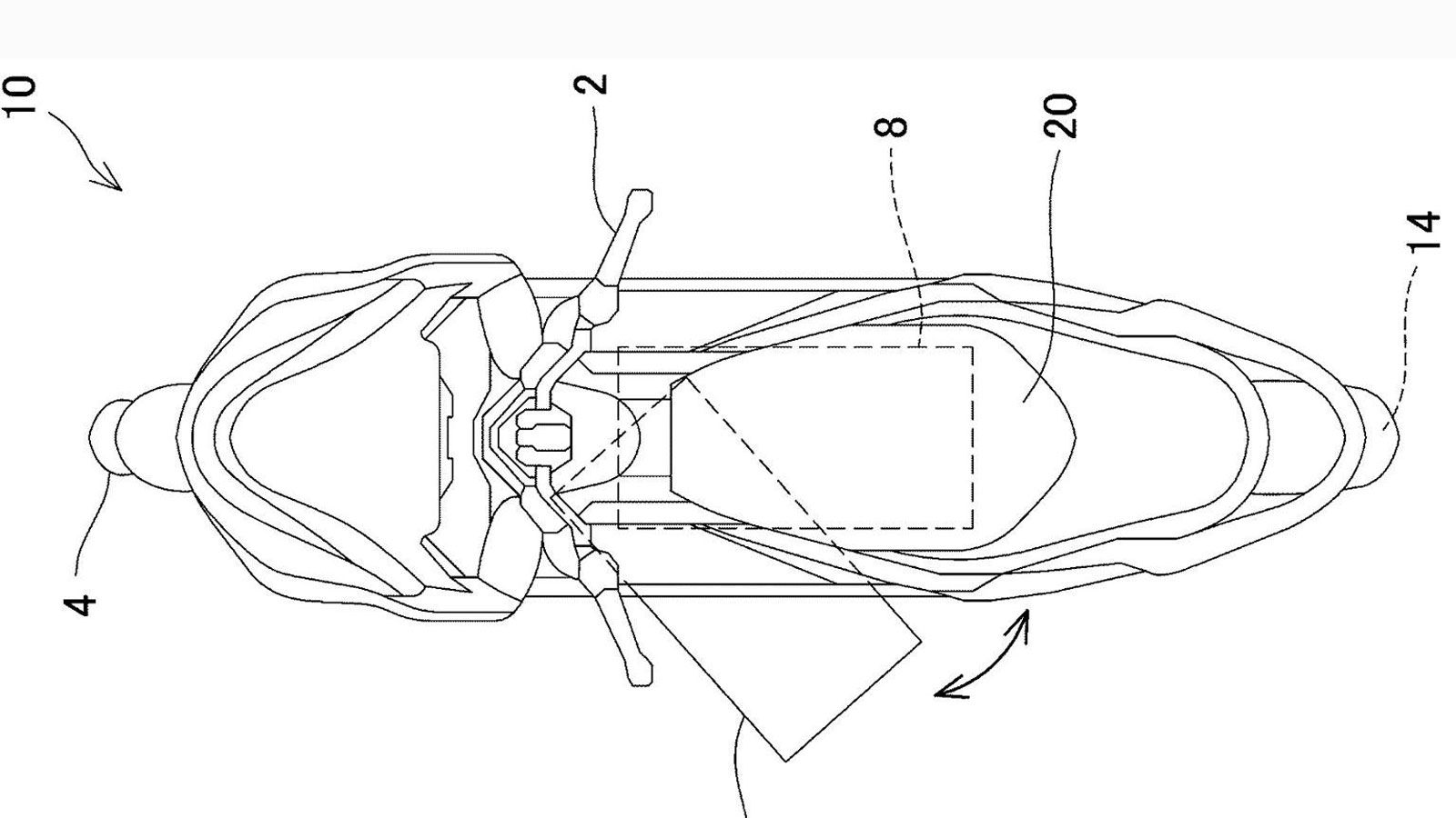
Ένα από τα βασικά προβλήματα σε scooter τέτοιου τύπου είναι η θέση της δεξαμενής. Συνήθως τ

Ένα από τα βασικά προβλήματα σε scooter τέτοιου τύπου είναι η θέση της δεξαμενής. Συνήθως τ

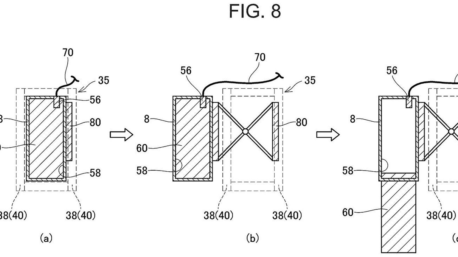
Το πιο ενδιαφέρον σημείο της πατέντας αφορά τον τρόπο ανεφοδιασμού. Αντί για κλασικό γέμισμα με συμπιεσμένο υδρογόνο σε πρατήριο, η Toyota προτείνει α

Το πιο ενδιαφέρον σημείο της πατέντας αφορά τον τρόπο ανεφοδιασμού. Αντί για κλασικό γέμισμα με συμπιεσμένο υδρογόνο σε πρατήριο, η Toyota προτείνει ανταλλαγή έτοιμων γεμάτων φιαλών.