Voge: Πατέντα λύνει πρόβλημα 40 ετών στα μονόμπρατσα ψαλίδια

H Voge λύνει πρόβλημα 40 ετών με νέα πατέντα για μονόμπρατσο ψαλίδι

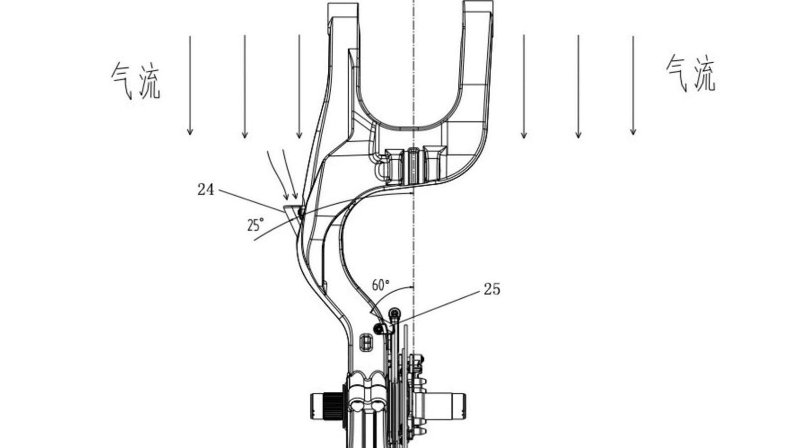
H Voge λύνει πρόβλημα 40 ετών με νέα πατέντα για μονόμπρατσο ψαλίδι

ο single-sided swingarm έχει ταυτιστεί με ακριβότερα και πιο εξωτικά μοντέλα, γιΆ αυτό και χρησιμοποιείται όλο και περισσότερο ως στοιχείο κύρους.
Η

ο single-sided swingarm έχει ταυτιστεί με ακριβότερα και πιο εξωτικά μοντέλα, γιΆ αυτό και χρησιμοποιείται όλο και περισσότερο ως στοιχείο κύρους. Η κίνηση της Voge δείχνει πως θέλει να ανέβει επίπεδο και να δώσει τεχνολογικό ενδιαφέρον στη νέα γενιά sport μοντέλων της.

Τα μονόμπρατσα ψαλίδια προσφέρουν ξεχωριστή εικόνα και διευκολύνουν την αφαίρεση του πίσω τροχού, όμως έχουν και μειονεκτήματα. Συνήθως είναι βαρύτερα

Τα μονόμπρατσα ψαλίδια προσφέρουν ξεχωριστή εικόνα και διευκολύνουν την αφαίρεση του πίσω τροχού, όμως έχουν και μειονεκτήματα. Συνήθως είναι βαρύτερα και λιγότερο άκαμπτα από τα συμβατικά διπλά ψαλίδια, ενώ υπάρχει και ένα λιγότερο γνωστό θέμα: η ψύξη του πίσω φρένου.