KTM: Αναπτύσσει νέο σύστημα επέκτασης αυτονομίας για ηλεκτρικές μοτοσυκλέτες

Η μεγαλύτερη πρόκληση για τις ηλεκτρικές μοτοσυκλέτες παραμένει η αυτονομία. Παρά το γεγονός ότι πολλές εταιρείες έχουν αποδείξει πως μπορούν να προσφέρουν επιδόσεις ισάξιες με τα συμβατικά θερμικά μο

Η μεγαλύτερη πρόκληση για τις ηλεκτρικές μοτοσυκλέτες παραμένει η αυτονομία. Παρά το γεγονός ότι πολλές εταιρείες έχουν αποδείξει πως μπορούν να προσφέρουν επιδόσεις ισάξιες με τα συμβατικά θερμικά μοντέλα, η απόσταση που μπορούν να διανύσουν με μία φόρτιση εξακολουθεί να αποτελεί πρόβλημα.

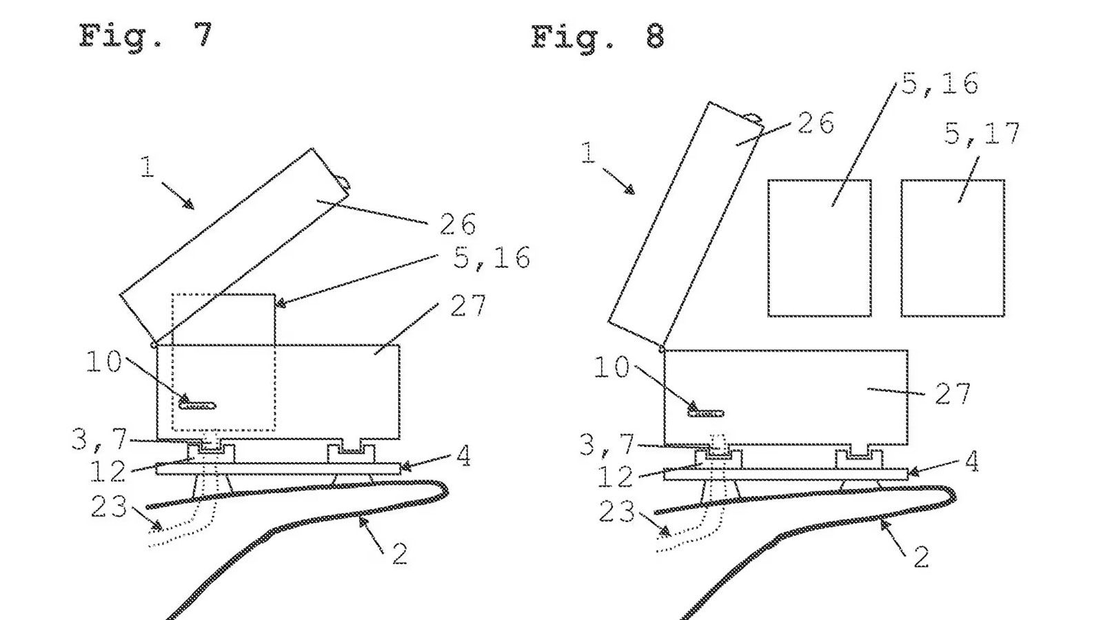
 Η KTM, γνωστή για τις τολμηρές της καινοτομίες, εργάζεται πάνω σε μια λύση που ξεφεύγει από τα συνηθισμένα: ένα clip-on σύστημα επέκτασης αυτονομίας, τοποθετημένο σε μορφή top case, το οποίο μπορεί ν

Η KTM, γνωστή για τις τολμηρές της καινοτομίες, εργάζεται πάνω σε μια λύση που ξεφεύγει από τα συνηθισμένα: ένα clip-on σύστημα επέκτασης αυτονομίας, τοποθετημένο σε μορφή top case, το οποίο μπορεί να προσθέσει ενέργεια όταν ο αναβάτης χρειάζεται να ταξιδέψει πιο μακριά.