Νέα πατέντα αποκαλύφθηκε από την ΚΤΜ για ηλεκτρικό-μηχανικό supercharger

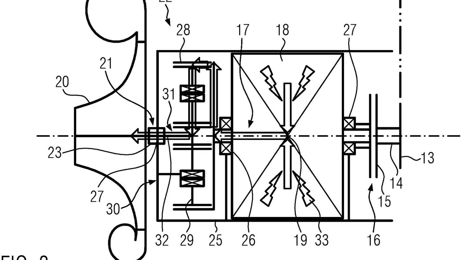
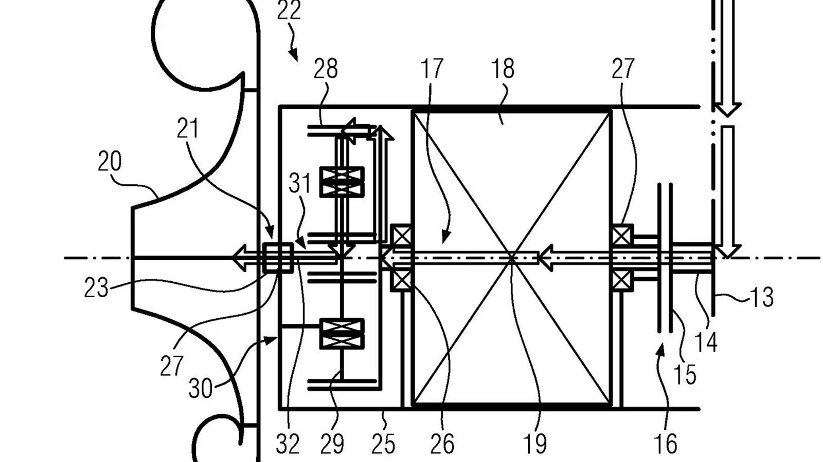
Η KTM αποκάλυψε μέσα από νέες πατέντες ένα καινοτόμο σύστημα υπερτροφοδότησης που συνδυάζει δύο κόσμους: την παραδοσιακή μηχανική μετάδοση και την ηλεκτρική υποβοήθηση.

Η KTM αποκάλυψε μέσα από νέες πατέντες ένα καινοτόμο σύστημα υπερτροφοδότησης που συνδυάζει δύο κόσμους: την παραδοσιακή μηχανική μετάδοση και την ηλεκτρική υποβοήθηση.

Με αυτόν τον τρόπο, η αυστριακή εταιρεία υπόσχεται άμεση απόκριση στο γκάζι, χωρίς το κλασικό «lag» των turbo και με ενίσχυση της ροπής χαμηλά.

Με αυτόν τον τρόπο, η αυστριακή εταιρεία υπόσχεται άμεση απόκριση στο γκάζι, χωρίς το κλασικό «lag» των turbo και με ενίσχυση της ροπής χαμηλά.

Η λύση βασίζεται σε έναν υπερσυμπιεστή τύπου scroll, επιλογή που προσφέρει χαμηλότερο κόστος και μειωμένη αδράνεια, άρα ταχύτερη επιτάχυνση στις επιθυμητές στροφές λειτουργίας.

Η λύση βασίζεται σε έναν υπερσυμπιεστή τύπου scroll, επιλογή που προσφέρει χαμηλότερο κόστος και μειωμένη αδράνεια, άρα ταχύτερη επιτάχυνση στις επιθυμητές στροφές λειτουργίας.