CFMOTO: Νέα πατέντα για sportsbike αποκαλύπτει το επόμενο της βήμα στην ηλεκτροκίνηση

Η αγορά των ηλεκτρικών μοτοσυκλετών μπορεί να μην έχει αναπτυχθεί όσο περίμεναν οι κατασκευαστές, όμως η CFMoto συνεχίζει να επενδύει στην τεχνολογία. Η τελευταία αίτηση ευρεσιτεχνίας παρουσιάζει ένα

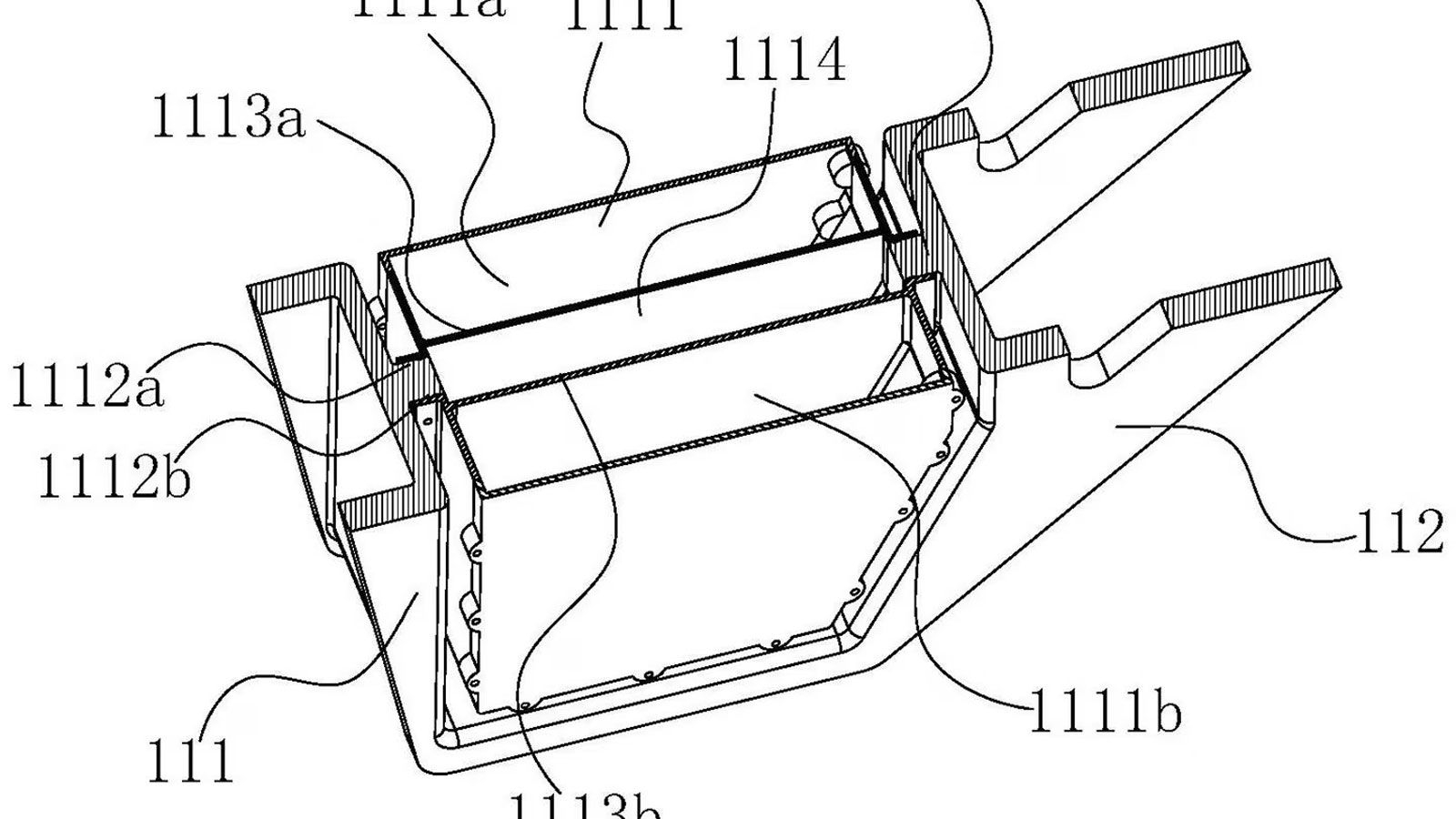
Η αγορά των ηλεκτρικών μοτοσυκλετών μπορεί να μην έχει αναπτυχθεί όσο περίμεναν οι κατασκευαστές, όμως η CFMoto συνεχίζει να επενδύει στην τεχνολογία. Η τελευταία αίτηση ευρεσιτεχνίας παρουσιάζει ένα ηλεκτρικό sportbike με σχεδίαση που αξιοποιεί τις μπαταρίες ως τμήμα της δομής του πλαισίου.

Πτερύγια που εκτείνονται από τις μπαταρίες μεταδίδουν θερμότητα, μια ένδειξη ότι η CFMoto προετοιμάζει το μοντέλο για ταχεία φόρτιση, όπου οι θερμοκρασίες είναι υψηλές και η ανάγκη για ψύξη μεγαλύτερη

Πτερύγια που εκτείνονται από τις μπαταρίες μεταδίδουν θερμότητα, μια ένδειξη ότι η CFMoto προετοιμάζει το μοντέλο για ταχεία φόρτιση, όπου οι θερμοκρασίες είναι υψηλές και η ανάγκη για ψύξη μεγαλύτερη.

 Ο συνδυασμός αυτού του σχεδιασμού με την παθητική υδρόψυξη δείχνει ότι η εταιρεία στοχεύει σε μια μοτοσυκλέτα που θα είναι προσιτή, χωρίς να κυνηγά την απόλυτη απόδοση.

Ο συνδυασμός αυτού του σχεδιασμού με την παθητική υδρόψυξη δείχνει ότι η εταιρεία στοχεύει σε μια μοτοσυκλέτα που θα είναι προσιτή, χωρίς να κυνηγά την απόλυτη απόδοση.