Honda CB1000R με E-Clutch: Έρχεται νέα εποχή στα 1000άρια γυμνά της Honda;

Η Honda φαίνεται πως ετοιμάζεται να περάσει το σύστημα E-Clutch και στα μεγάλα γυμνά μοντέλα της, με νέες πατέντες να δείχνουν καθαρά ένα CB1000R εξοπ

Η Honda φαίνεται πως ετοιμάζεται να περάσει το σύστημα E-Clutch και στα μεγάλα γυμνά μοντέλα της, με νέες πατέντες να δείχνουν καθαρά ένα CB1000R εξοπλισμένο με την ηλεκτρονικά ελεγχόμενη μετάδοση.

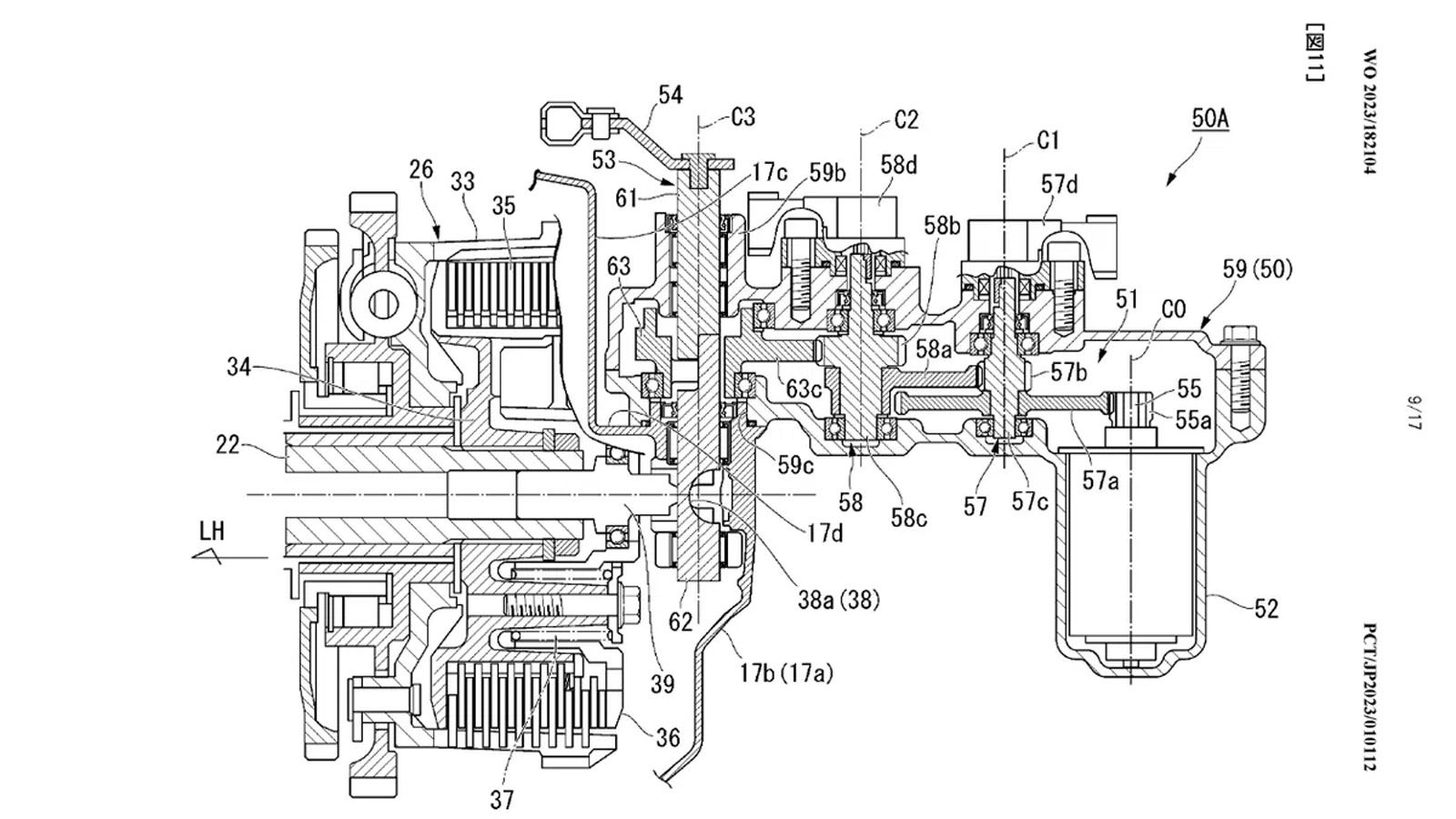
Η εικόνα του μοντέλου, όπως κατατέθηκε στην Ιαπωνική Υπηρεσία Ευρεσιτεχνιών (JPO), απεικονίζει ένα τυπικό CB1000R με το χαρακτηριστικό σύστημα αλλαγής

Η εικόνα του μοντέλου, όπως κατατέθηκε στην Ιαπωνική Υπηρεσία Ευρεσιτεχνιών (JPO), απεικονίζει ένα τυπικό CB1000R με το χαρακτηριστικό σύστημα αλλαγής ταχυτήτων τοποθετημένο στη δεξιά πλευρά, όπως σε όλα τα υπάρχοντα μοντέλα της Honda με E-Clutch.

Παρότι οι πατέντες δείχνουν καθαρά το υπάρχον CB1000R, η χρονική στιγμή και οι εξελίξεις στο lineup της Honda οδηγούν σε εύλογες υποψίες. Το CB1000R θ

Παρότι οι πατέντες δείχνουν καθαρά το υπάρχον CB1000R, η χρονική στιγμή και οι εξελίξεις στο lineup της Honda οδηγούν σε εύλογες υποψίες. Το CB1000R θεωρείται ότι σταδιακά αποσύρεται από την ευρωπαϊκή αγορά, δίνοντας τη θέση του στο νέο CB1000 Hornet, που ακολουθεί πιο επιθετικό σχεδιασμό και τιμολογιακά απευθύνεται σε ευρύτερο κοινό.