CFMOTO: Πατέντα για μοτοσυκλέτα που αλλάζει θέση οδήγησης εν κινήσει!

Η νέα πατέντα της CFMOTO υπόσχεται να φέρει την επανάσταση στην καθημερινή και σπορ οδήγηση, με ένα ηλεκτρονικό σύστημα που επιτρέπει την αλλαγή της θ

Η νέα πατέντα της CFMOTO υπόσχεται να φέρει την επανάσταση στην καθημερινή και σπορ οδήγηση, με ένα ηλεκτρονικό σύστημα που επιτρέπει την αλλαγή της θέσης οδήγησης εν κινήσει.

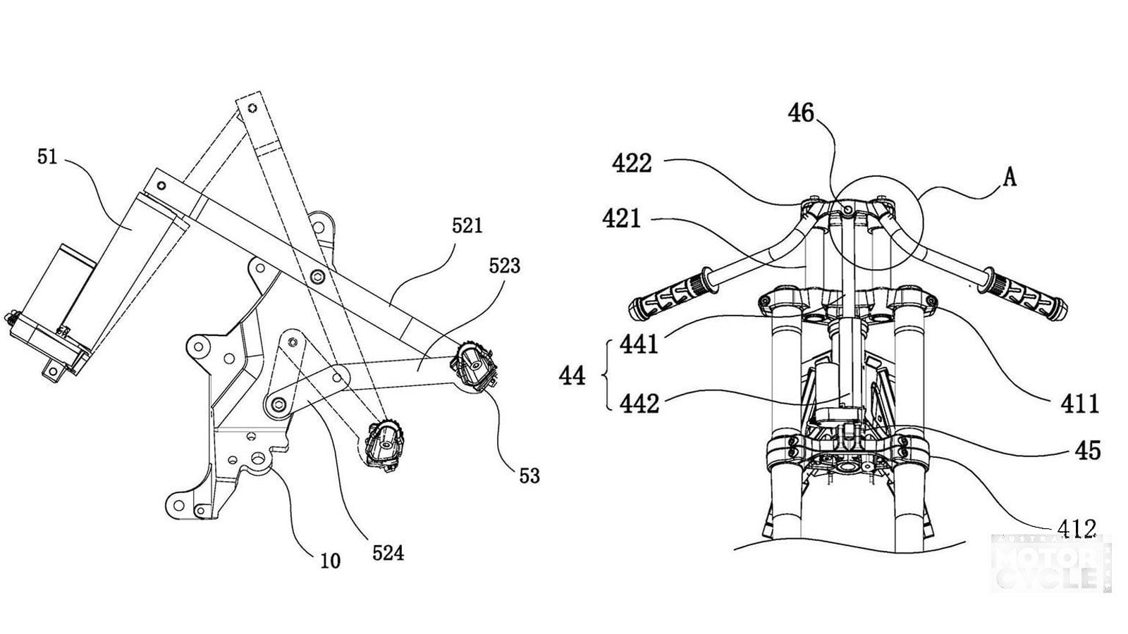
Στο επίκεντρο βρίσκεται ένα σετ clip-on τιμονιών, τοποθετημένα σε συμβατικό πιρούνι USD και τιμονόπλακα, τα οποία μπορούν να ανεβαίνουν ή να κατεβαίνο

Στο επίκεντρο βρίσκεται ένα σετ clip-on τιμονιών, τοποθετημένα σε συμβατικό πιρούνι USD και τιμονόπλακα, τα οποία μπορούν να ανεβαίνουν ή να κατεβαίνουν ηλεκτρικά, με εντολή από τον υπολογιστή της μοτοσυκλέτας.

Το σύστημα βασίζεται σε ένα ηλεκτρομηχανικό έμβολο που αλλάζει το ύψος του τιμονιού ανάλογα με τις ανάγκες του αναβάτη, μεταμορφώνοντας τη στάση από ε

Το σύστημα βασίζεται σε ένα ηλεκτρομηχανικό έμβολο που αλλάζει το ύψος του τιμονιού ανάλογα με τις ανάγκες του αναβάτη, μεταμορφώνοντας τη στάση από επιθετική sport σε όρθια και άνετη.