Η Toyoda Gosei φέρνει αερόσακους και στις μοτοσυκλέτες

Η ιαπωνική Toyoda Gosei, κορυφαία προμηθεύτρια συστημάτων ασφαλείας για αυτοκίνητα, κάνει δυναμική είσοδο στον κόσμο των μοτοσυκλετών, εξελίσσοντας έν

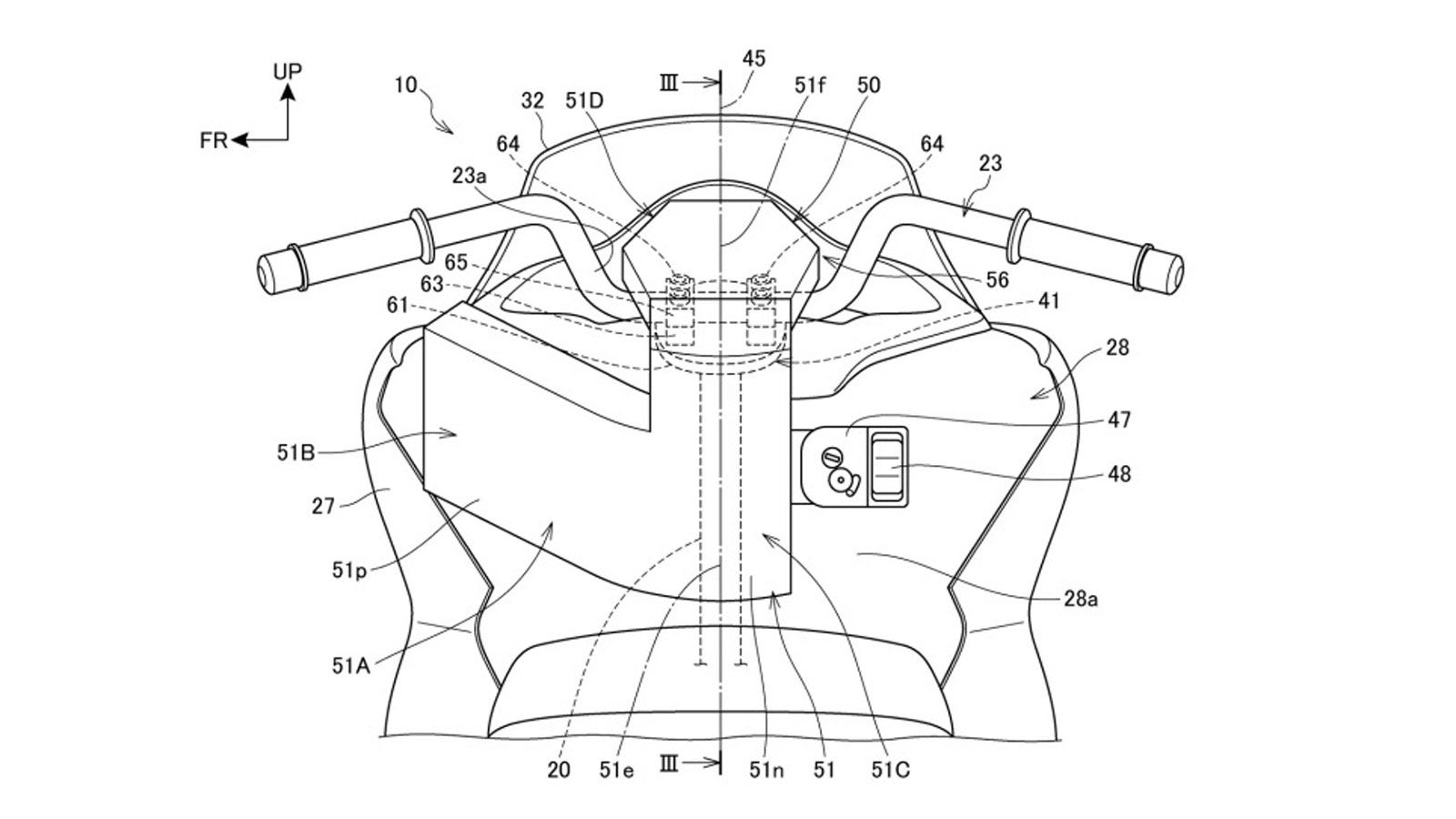
Η ιαπωνική Toyoda Gosei, κορυφαία προμηθεύτρια συστημάτων ασφαλείας για αυτοκίνητα, κάνει δυναμική είσοδο στον κόσμο των μοτοσυκλετών, εξελίσσοντας ένα νέο σύστημα αερόσακου αποκλειστικά για δίκυκλα.

Η εταιρεία προχώρησε ήδη σε crash tests χρησιμοποιώντας πραγματικές μοτοσυκλέτες και κούκλες προσομοίωσης αναβάτη, με στόχο να κατανοήσει πώς λειτουργ

Η εταιρεία προχώρησε ήδη σε crash tests χρησιμοποιώντας πραγματικές μοτοσυκλέτες και κούκλες προσομοίωσης αναβάτη, με στόχο να κατανοήσει πώς λειτουργεί μια μετωπική σύγκρουση σε δίκυκλο.

H Honda έχει στο παρελθόν πειραματιστεί με αερόσακο σε μοντέλο παραγωγής (Goldwing), δείχνει πως η ιδέα έχει προοπτική.

H Honda έχει στο παρελθόν πειραματιστεί με αερόσακο σε μοντέλο παραγωγής (Goldwing), δείχνει πως η ιδέα έχει προοπτική.