BMW: Πατέντα Blow aero από F1 στις μοτοσυκλέτες της

Η ιδέα των ανεμιστήρων για βελτίωση της κάθετης δύναμης δεν είναι καινούργια. Πρωτοεμφανίστηκε τη δεκαετία του Ά60 από τον Jim Hall και τη Chaparral,

Η ιδέα των ανεμιστήρων για βελτίωση της κάθετης δύναμης δεν είναι καινούργια. Πρωτοεμφανίστηκε τη δεκαετία του Ά60 από τον Jim Hall και τη Chaparral, και επανήλθε δυναμικά από τον Gordon Murray με τη θρυλική Brabham BT46B στη Formula 1, και πρόσφατα με το υπερ-αυτοκίνητο GMA T.50

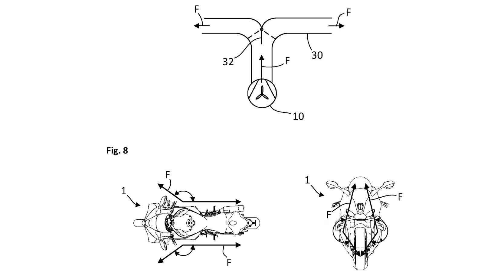
Η BMW δεν στοχεύει σε τόσο ακραία σενάρια. Σύμφωνα με τα νέα διπλώματα ευρεσιτεχνίας, εξετάζει ένα σύστημα με ανεμιστήρα εσωτερικά τοποθετημένο, ο οπο

Η BMW δεν στοχεύει σε τόσο ακραία σενάρια. Σύμφωνα με τα νέα διπλώματα ευρεσιτεχνίας, εξετάζει ένα σύστημα με ανεμιστήρα εσωτερικά τοποθετημένο, ο οποίος θα αναρροφά αέρα και θα τον διοχετεύει μέσω καναλιών σε κατευθυνόμενα ακροφύσια.

Το σύστημα ενδέχεται να συνεργάζεται με αισθητήρες κλίσης και IMU, ώστε να προσαρμόζει δυναμικά τη ροή του αέρα ανάλογα με τη γωνία κλίσης, την επιτάχ

Το σύστημα ενδέχεται να συνεργάζεται με αισθητήρες κλίσης και IMU, ώστε να προσαρμόζει δυναμικά τη ροή του αέρα ανάλογα με τη γωνία κλίσης, την επιτάχυνση ή την πέδηση.