Yamaha E-Turbo : Ηλεκτρικό τούρμπισμα στον CP3

Νέες πατέντες της Yamaha αποκαλύπτουν πως η ιαπωνική εταιρεία σχεδιάζει την εφαρμογή ηλεκτρονικού turbo (E-turbo) σε μοτοσυκλέτα με τον τρικύλινδρο κι

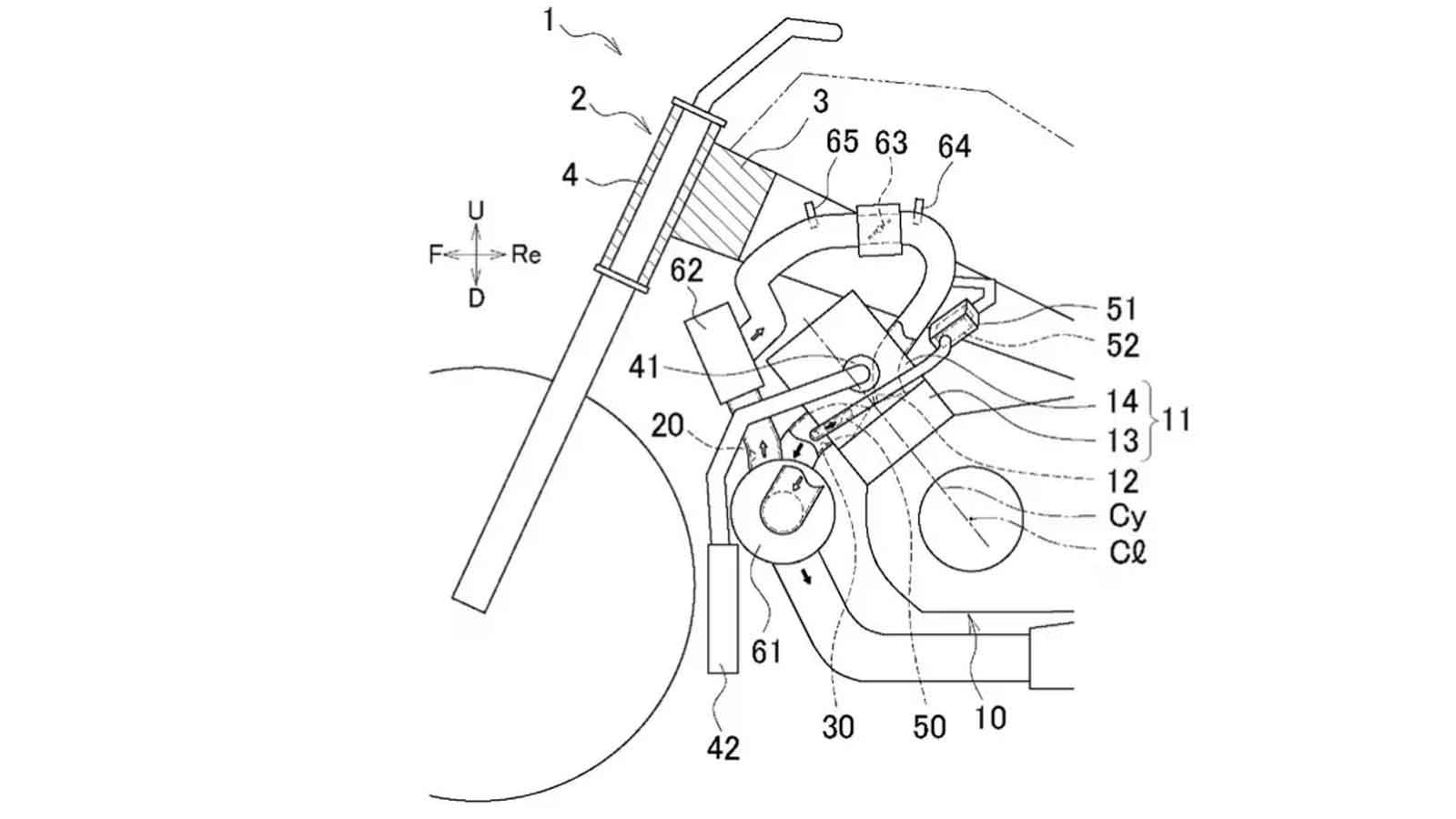
Νέες πατέντες της Yamaha αποκαλύπτουν πως η ιαπωνική εταιρεία σχεδιάζει την εφαρμογή ηλεκτρονικού turbo (E-turbo) σε μοτοσυκλέτα με τον τρικύλινδρο κινητήρα CP3, όπως αυτούς που συναντάμε στο MT-09

Τα σκίτσα δείχνουν μια naked μοτοσυκλέτα με compact προφίλ, στην οποία ενσωματώνεται ένα πλήρως ηλεκτρονικό σύστημα υπερτροφοδοσίας χωρίς εξάρτηση από

Τα σκίτσα δείχνουν μια naked μοτοσυκλέτα με compact προφίλ, στην οποία ενσωματώνεται ένα πλήρως ηλεκτρονικό σύστημα υπερτροφοδοσίας χωρίς εξάρτηση από τα καυσαέρια.