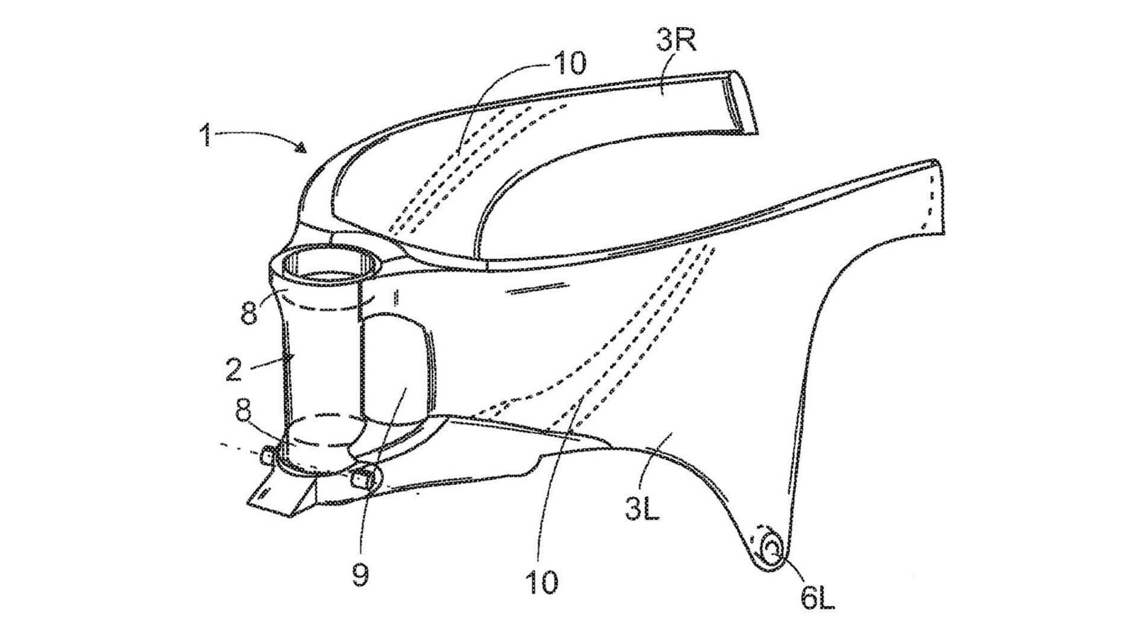
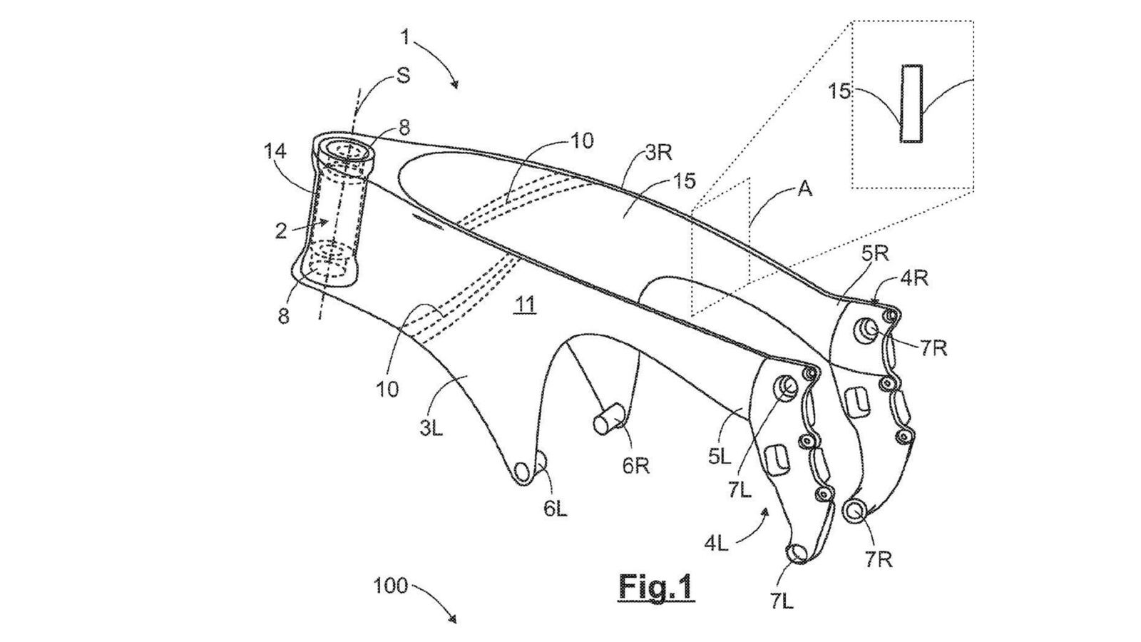
Έρχεται και αγωνιστική Aprilia με νέο πλαίσιο από ανθρακονήματα;

Έρχεται και αγωνιστική Aprilia με νέο πλαίσιο από ανθρακονήματα;
Έρχεται και αγωνιστική Aprilia με νέο πλαίσιο από ανθρακονήματα;
Έρχεται και αγωνιστική Aprilia με νέο πλαίσιο από ανθρακονήματα;